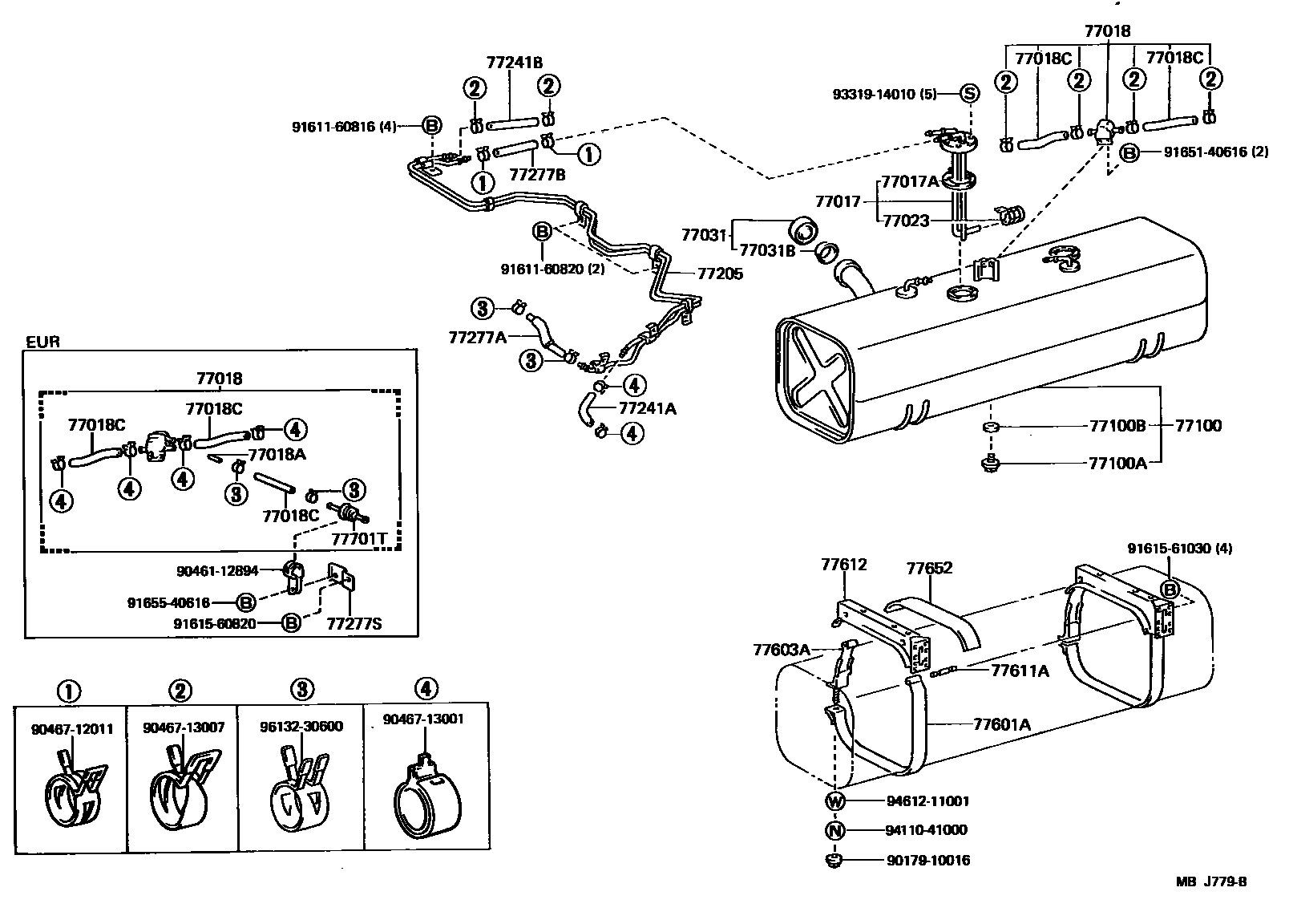
FUEL TANK & TUBE

77017TUBE SUB-ASSY, FUEL AND EVAPORATION VENT
77017AGASKET, FUEL TANK VENT
77018VALVE SUB-ASSY, FUEL VAPOUR SEPARATE
77018AORIFICE, FUEL VAPOUR
77018CHOSE, FUEL NO.1 (FOR FUEL LIQUID VAPOUR SEPARATE VALVE)
77023FILTER SUB-ASSY, FUEL SUCTION TUBE
77031CAP ASSY, FUEL TANK
77031BGASKET (FOR FUEL TANK CAP)
77100TANK ASSY, FUEL
77100APLUG(FOR FUEL TANK)
77100BGASKET(FOR FUEL TANK)
77205TUBE SUB-ASSY, FUEL MAIN
77241AHOSE, FUEL, NO.1 (FOR MAIN TUBE, NO.1)
77241BHOSE, FUEL, NO.2 (FOR MAIN TUBE, NO.1)
77277AHOSE, FUEL, NO.1(FOR RETURN TUBE, NO.1)
L=280
77277BHOSE, FUEL, NO.2(FOR RETURN TUBE, NO.1)
77277SBRACKET, FUEL HOSE
77601ABAND SUB-ASSY, FUEL TANK, NO.1
77603ABAND SUB-ASSY, FUEL TANK, NO.2
77611APIN (FOR FUEL TANK BAND)
77612BRACKET SUB-ASSY, FUEL TANK
77652CUSHION, FUEL TANK, NO.1
77701TVALVE, CHECK (FOR MAIN FUEL TANK)
9017910016
9046112894
9046712011
9046713001
9046713007
9161160816
9161160820
9161560820
9161561030
9165140616
9165540616
9331914010
9411041000
9461211001
9613230600
38 parts on this diagram · 3 diagrams in section