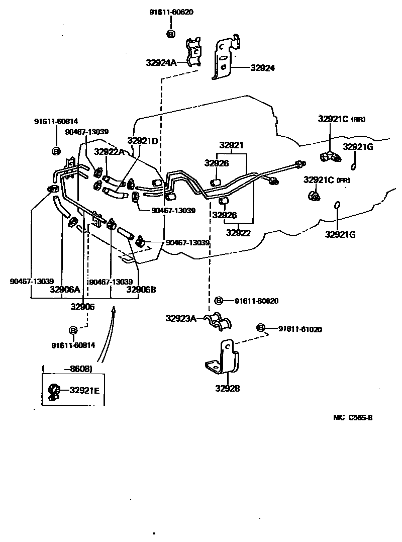
OIL COOLER & TUBE (ATM)

32906TUBE SUB-ASSY, OIL COOLER
32921TUBE, OIL COOLER INLET, NO.1
sub32921-26061
32921CUNION(FOR OIL COOLER TUBE)
FR
RR
32921ECLAMP, HOSE(FOR OIL COOLER)
32921GRING, O(FOR OIL COOLER TUBE UNION)
32922TUBE, OIL COOLER OUTLET, NO.1
32923ACLAMP, AUTOMATIC TRANSMISSION OIL COOLER TUBE
32924CLAMP, OIL COOLER TUBE, NO.2
32924ACLAMP(FOR OIL COOLER TUBE, NO.2)
32926CUSHION, OIL COOLER TUBE(ATM)
L=35,ID=10
32928CLAMP, FLEXIBLE HOSE, NO.1
sub32928-26021
9046713039
main90467-13039
9161160620
main91611-60620
9161160814
main91611-60814
9161161020
main91611-61020
19 parts on this diagram · 1 diagram in section