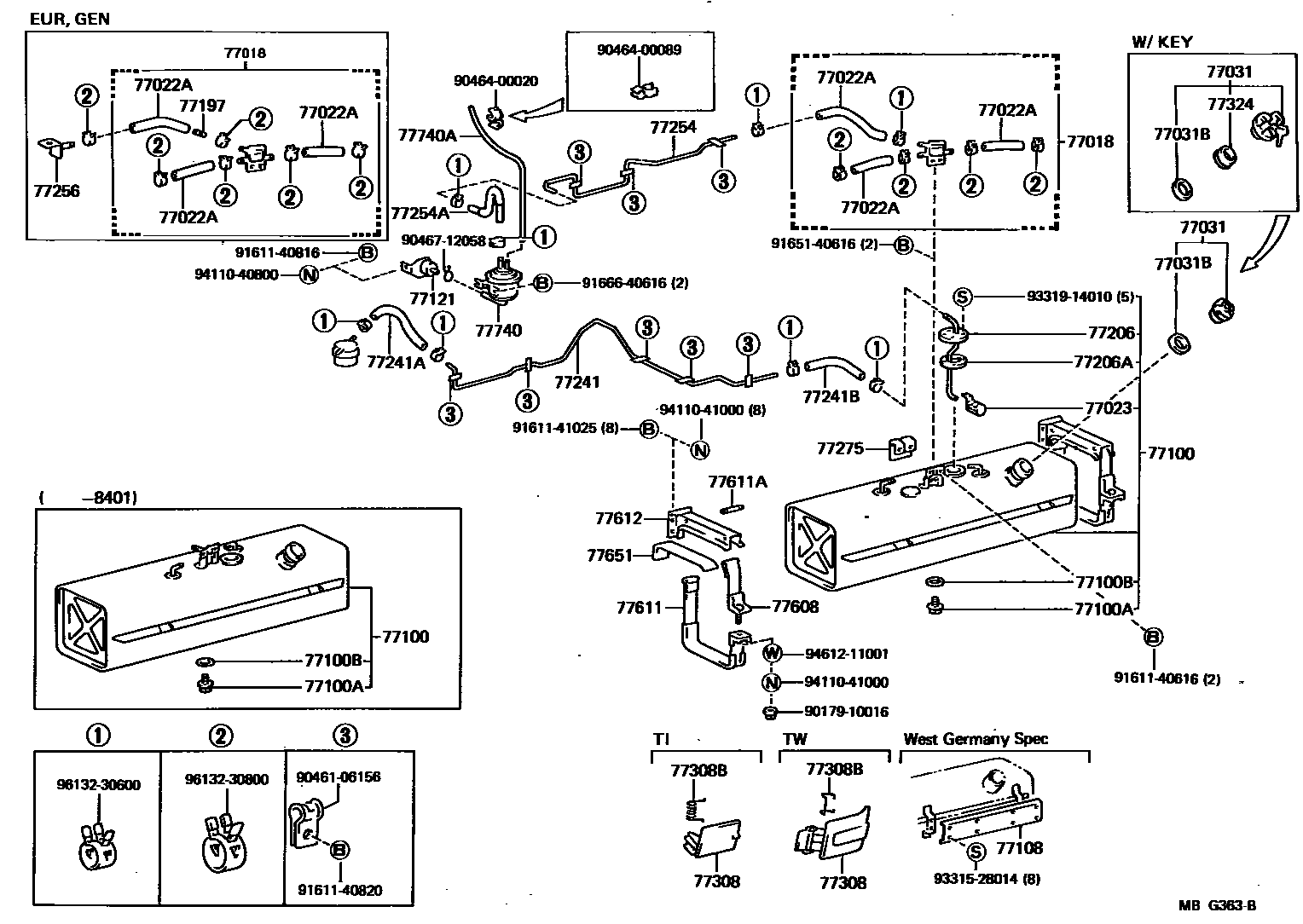
FUEL TANK & TUBE

77018VALVE SUB-ASSY, FUEL VAPOUR SEPARATE
77022AHOSE, FUEL(FOR FUEL EVAPORATIVE SEPARATOR)
77023FILTER SUB-ASSY, FUEL SUCTION TUBE
77031CAP ASSY, FUEL TANK
W/KEY,WEST GERMANY SPEC
W/KEY
W/KEY
W/KEY,WEST GERMANY SPEC
W/O KEY
77031BGASKET (FOR FUEL TANK CAP)
CAP=W/KEY
CAP=W/O KEY
CAP=W/O KEY
77100APLUG(FOR FUEL TANK)
77100BGASKET(FOR FUEL TANK)
77108PROTECTOR SUB-ASSY, FUEL TANK
WEST GERMANY SPEC
77121PROTECTOR, FUEL TUBE
77197ORIFICE, FUEL VAPOR
77206TUBE SUB-ASSY, FUEL TANK SUCTION
77206AGASKET (FOR FUEL TANK SUCTION TUBE)
77241TUBE, FUEL MAIN, NO.1
77241AHOSE, FUEL, NO.1 (FOR MAIN TUBE, NO.1)
77241BHOSE, FUEL, NO.2 (FOR MAIN TUBE, NO.1)
77254TUBE, FUEL EMISSION, NO.1
77254AHOSE, FUEL, NO.1 (FOR EMISSION TUBE, NO.1)
77256TUBE, FUEL EMISSION, NO.3
77275PROTECTOR, FUEL EVAPORATIVE SEPARATOR
main77197-25010iLH11,RH11..LHD..T3;LH11,RH11..LHD..IV;LH11,RH11..RHD..03S..(ARL,EUR,GEN)198211-198507
77308COVER SUB-ASSY, FUEL INLET BOX
77308BSPRING, TORSION(FOR FUEL INLET BOX COVER)
77324SPRING, FUEL TANK CAP
77611APIN (FOR FUEL TANK BAND)
77612BRACKET SUB-ASSY, FUEL TANK
sub77501-25091
77740CANISTER ASSY, CHARCOAL
77740AHOSE, FUEL, NO.1(FOR CHARCOAL CANISTER)
9017910016
main90179-10016
9046106156
main90461-06156
9046400020
main90464-00020
9046400089
main90464-00089
9046712058
main90467-12058
9161140616
main91611-40616
9161140816
main91611-40816
9161140820
main91611-40820
9161141025
main91611-41025
9165140616
main91651-40616
9166640616
main91666-40616
9331528014
main93315-28014
9331914010
main93319-14010
9411040800
main94110-40800
9411041000
main94110-41000
9461211001
main94612-11001
9613230600
main96132-30600
9613230800
main96132-30800
48 parts on this diagram · 2 diagrams in section