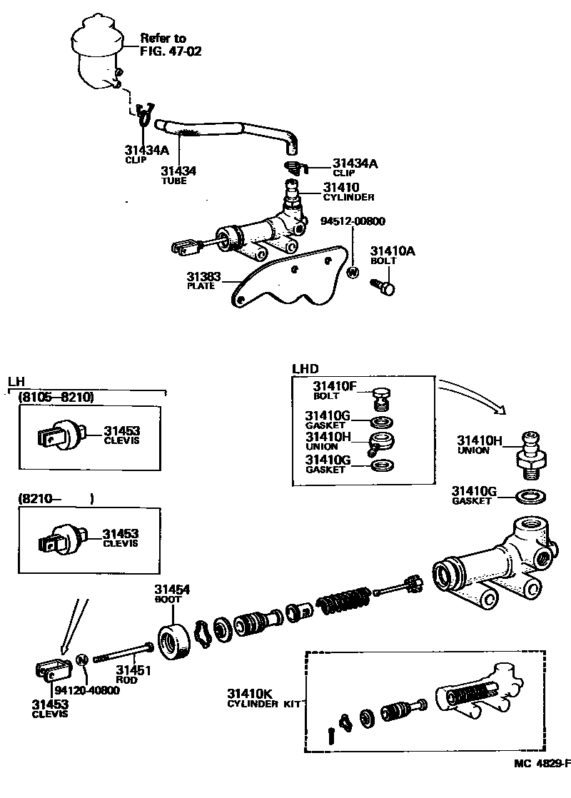
CLUTCH MASTER CYLINDER

31383PLATE, PEDAL SUPPORT SHAFT SET
31410CYLINDER ASSY, CLUTCH MASTER
sub31420-26021
sub31420-26031
sub31420-26041
sub31420-26042
sub31420-26051
sub31420-26052
sub31420-26061
sub31420-26071
31410FBOLT, UNION(FOR CLUTCH MASTER CYLINDER)
31410GGASKET(FOR CLUTCH MASTER CYLINDER UNION)
31410HUNION(FOR CLUTCH MASTER CYLINDER)
31410KCYLINDER KIT, CLUTCH MASTER
sub04311-14011
31434TUBE, CLUTCH RESERVOIR
31434ACLIP(FOR CLUTCH RESERVOIR TUBE)
sub96132-51300
31451ROD, CLUTCH MASTER CYLINDER PUSH
31454BOOT, CLUTCH MASTER CYLINDER
4702
9412040800
main94120-40800
9451200800
main94512-00800
15 parts on this diagram · 1 diagram in section