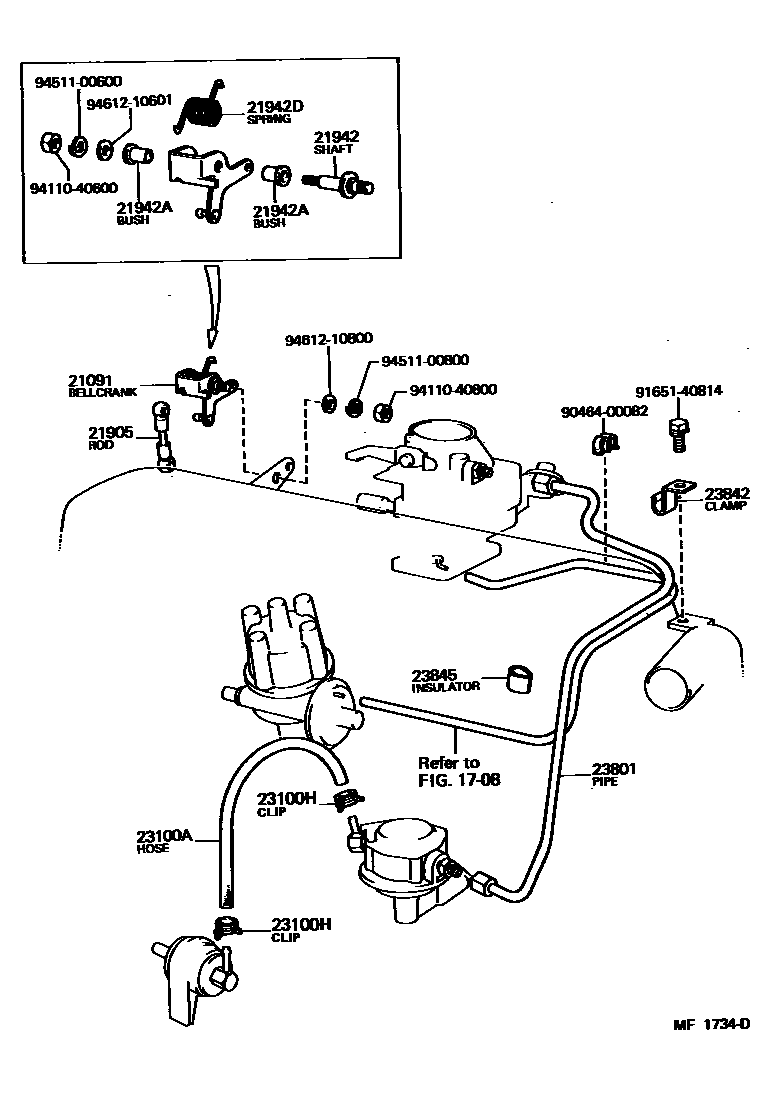
FUEL PIPE & CLAMP

1708
21091BELLCRANK SUB-ASSY, ACCELERATOR
21905ROD SUB-ASSY, ACCELERATOR CONNECTING
21942SHAFT, ACCELERATOR LINK
21942ABUSH(FOR ACCELERATOR LINK SHAFT)
21942DSPRING(FOR ACCELERATOR LINK SHAFT)
23100AHOSE, FUEL
L=600
L=600
L=400
L=700
L=700
23100HCLIP(FOR FUEL HOSE)
sub96132-51100
23842CLAMP, FUEL PIPE(HOSE), NO.2
SWEDEN SPEC
23845INSULATOR, FUEL PIPE
9046400082
main90464-00082
9165140814
main91651-40814
9411040600
main94110-40600
9411040800
main94110-40800
9451100600
main94511-00600
9451100800
main94511-00800
9461210601
main94612-10601
9461210800
main94612-10800
19 parts on this diagram · 3 diagrams in section