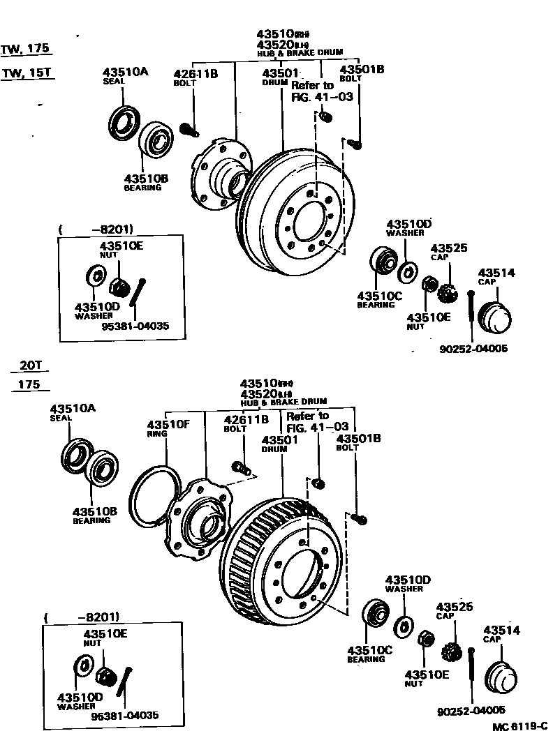
FRONT AXLE HUB

4103
42611BBOLT, HUB (FOR FRONT AXLE)
RH
LH
43501DRUM SUB-ASSY, FRONT BRAKE
43501BBOLT, SET (FOR FRONT BRAKE DRUM SETTING)
43510HUB AND BRAKE DRUM ASSY, FRONT AXLE, RH
43510ASEAL, OIL (FOR FRONT AXLE HUB)
43510BBEARING, TAPERED ROLLER (FOR FRONT AXLE INNER BEARING)
43510CBEARING, TAPERED ROLLER (FOR FRONT AXLE OUTER BEARING)
sub90366-22002
43510DWASHER, CLAW (FOR STEERING KNUCKLE WASHER)
43510ENUT (FOR STEERING KNUCKLE)
43510FRING, SHAFT SNAP (FOR FRONT AXLE HUB)
T=1.60
43520HUB AND BRAKE DRUM ASSY, FRONT AXLE, LH
43525CAP, FRONT WHEEL ADJUSTING LOCK
9025204005
main90252-04005
9538104035
main95381-04035
16 parts on this diagram · 1 diagram in section