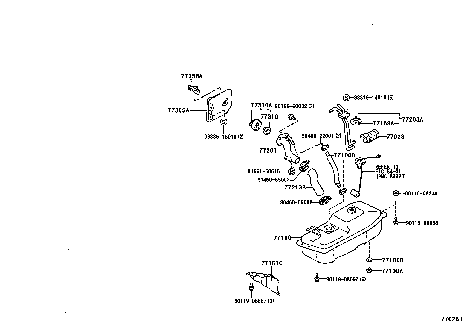
FUEL TANK & TUBE

77023FILTER SUB-ASSY, FUEL SUCTION TUBE
77100APLUG(FOR FUEL TANK)
77100BGASKET(FOR FUEL TANK)
77100DHOSE, FUEL, NO.1(FOR FUEL TANK)
L=340
77169AGASKET, FUEL SUCTION TUBE SET
77201PIPE SUB-ASSY, FUEL TANK INLET
*FRG
*FRG
*FRG
77203ATUBE SUB-ASSY, FUEL SUCTION
77213BHOSE, FUEL TANK TO FILLER PIPE
77305ALID SUB-ASSY, FUEL FILLER OPENING
77316GASKET, FUEL TANK CAP
77358ASTOPPER, FUEL FILLER OPENING LID
8401
9011908667
main90119-08667
9011908668
main90119-08668
9015960032
main90159-60032
9017008204
main90170-08204
9046022001
main90460-22001
9046065002
main90460-65002
9165160616
main91651-60616
9331914010
main93319-14010
9338515010
main93385-15010
24 parts on this diagram · 3 diagrams in section