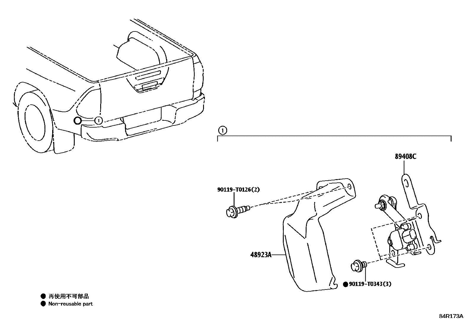
ELECTRONIC HEIGHT CONTROL

48923ACOVER, HEIGHT CONTROL LINK
HEADLAMP-4-BULB HALOGEN MULTI
89408CSENSOR SUB-ASSY, HEIGHT CONTROL, REAR LH
HEADLAMP-4-BULB HALOGEN MULTI
90119T0126
main90119-T0126
90119T0343
main90119-T0343
4 parts on this diagram · 1 diagram in section