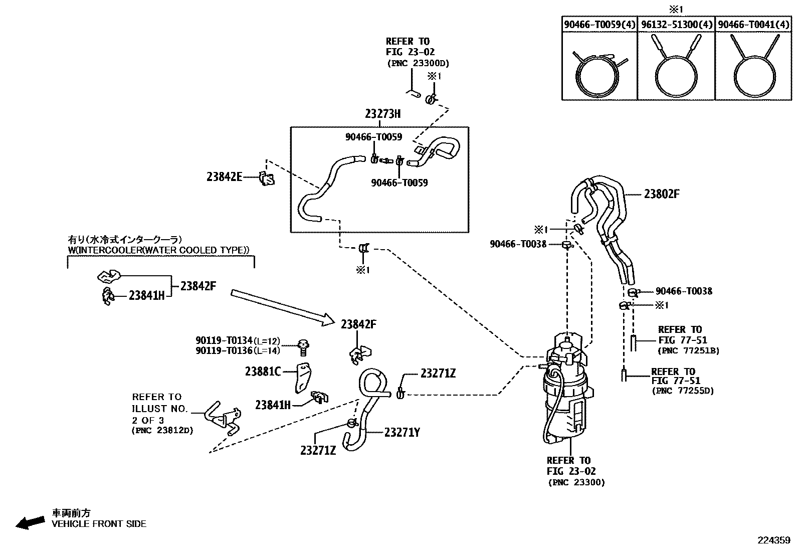
INJECTION PUMP ASSEMBLY

2302
23271YHOSE, FUEL
TURKEY EURO6 FOR 12 E-PF&EXHAUST EMISSION CONTROL-EURO 6C,EURO 6D WITH(ON BOARD DIAGNOSIS)
23271ZCLIP, HOSE
23273HHOSE, FUEL, NO.2
23802FHOSE, FUEL
TURKEY EURO6 FOR 12 E-PF&EXHAUST EMISSION CONTROL-EURO 6C,EURO 6D WITH(ON BOARD DIAGNOSIS)
23841HCLAMP, FUEL HOSE
THA SOURCED PARTS
23842ECLAMP, FUEL PIPE, NO.1
THA SOURCED PARTS
23842FCLAMP, FUEL PIPE, NO.2
main23842-0E010supersedes 23842-0L010i1GDFTV..GUN126..SAP..DCRL;2GDFTV..GUN125,135..SAP..6FC202308-202410
THA SOURCED PARTS
23881CBRACKET, FUEL HOSE
7751
90119T0134
main90119-T0134
90119T0136
main90119-T0136
90466T0038
main90466-T0038
90466T0041
main90466-T0041
90466T0059
main90466-T0059
9613251300
main96132-51300
16 parts on this diagram · 3 diagrams in section