INJECTION PUMP ASSEMBLY

2302
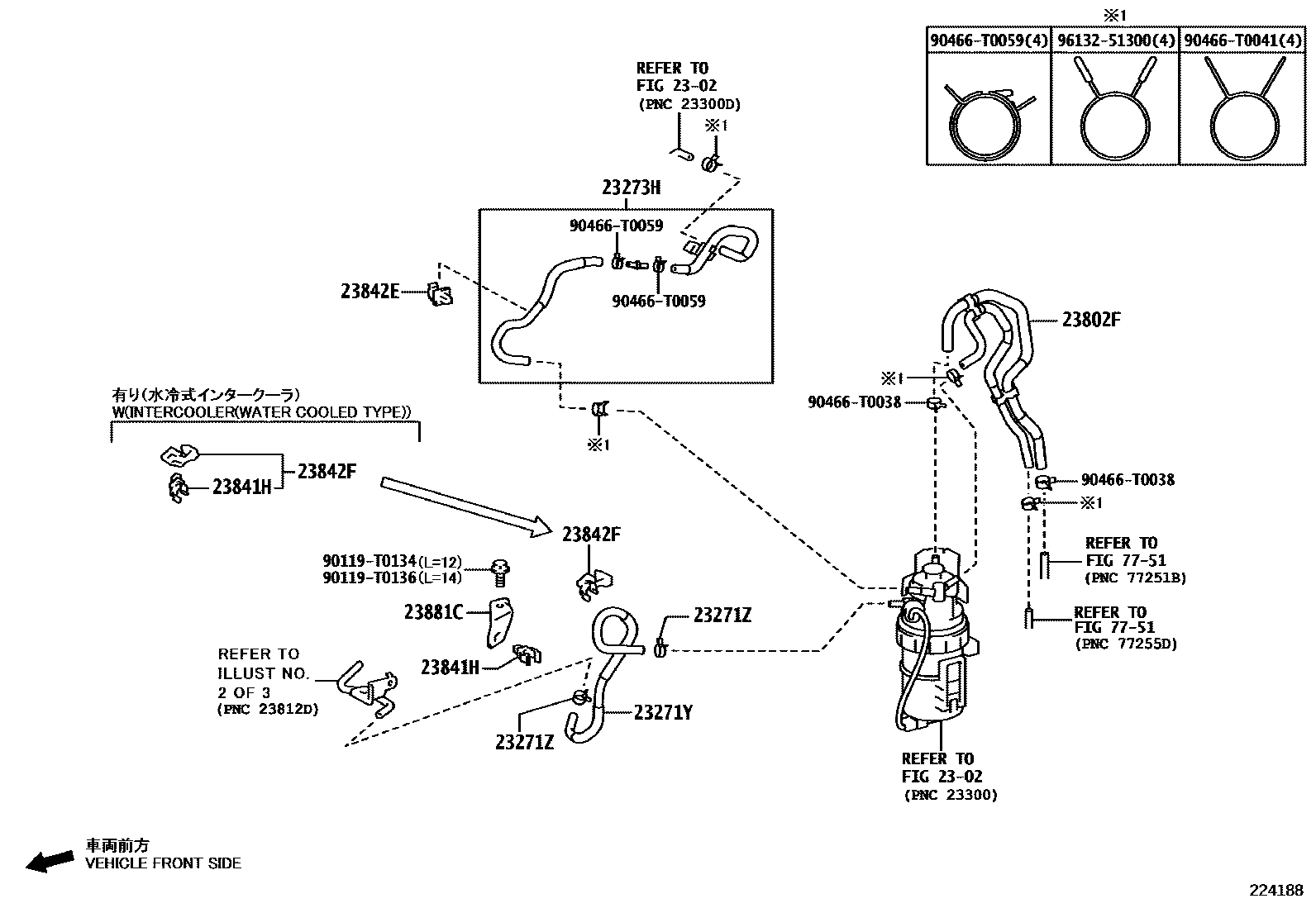
23271YHOSE, FUEL
ISRAEL SPEC (EURO 6 REGULATION)&EXHAUST EMISSION CONTROL-EURO 6C,EURO 6D WITH(ON BOARD DIAGNOSIS)
23271ZCLIP, HOSE
23273HHOSE, FUEL, NO.2
23802FHOSE, FUEL
ISRAEL SPEC (EURO 6 REGULATION)&EXHAUST EMISSION CONTROL-EURO 6C,EURO 6D WITH(ON BOARD DIAGNOSIS)
23841HCLAMP, FUEL HOSE
THA SOURCED PARTS
23842ECLAMP, FUEL PIPE, NO.1
THA SOURCED PARTS
23842FCLAMP, FUEL PIPE, NO.2
23881CBRACKET, FUEL HOSE
TYPE B:REFER ILLUST.
7751
90119T0134
main90119-T0134
90119T0136
main90119-T0136
90466T0038
main90466-T0038
90466T0041
main90466-T0041
90466T0059
main90466-T0059
9613251300
main96132-51300
16 parts on this diagram · 3 diagrams in section