HEADLAMP CLEANER

8401
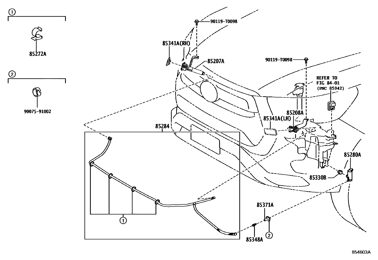
85207AACTUATOR SUB-ASSY, HEADLAMP WASHER, RH
MLM ADVENTURE PACKAGE
85208AACTUATOR SUB-ASSY, HEADLAMP WASHER, LH
MLM ADVENTURE PACKAGE
85272ACLAMP, HEADLAMP CLEANER, NO.1
MLM ADVENTURE PACKAGE
85280AMOTOR AND PUMP ASSY, HEADLAMP CLEANER
85284HOSE ASSY, HEADLAMP CLEANER WASHER
MLM ADVENTURE PACKAGE
85330BBUSH, HEADLAMP CLEANER WASHER JAR
85341ACOVER,HEADLAMP CLEANER WASHER NOZZLE
MLM ADVENTURE PACKAGE,RH
RH
LH
85348AJOINT, HEADLAMP CLEANER HOSE, NO.1
85371AHOSE, HEADLAMP CLEANER(FROM MOTOR TO JOINT)
L=35,ISRAEL SPEC (EURO 6 REGULATION)
L=35,TURKEY SPEC (EURO 6 REGULATION)
L=35,UKRAINE SPEC (EURO 6 REGULATION)
L=35
L=35,RUSSIA&CUSTOM UNION SPEC
9007591002
main90075-91002
90119T0098
main90119-T0098
12 parts on this diagram · 1 diagram in section