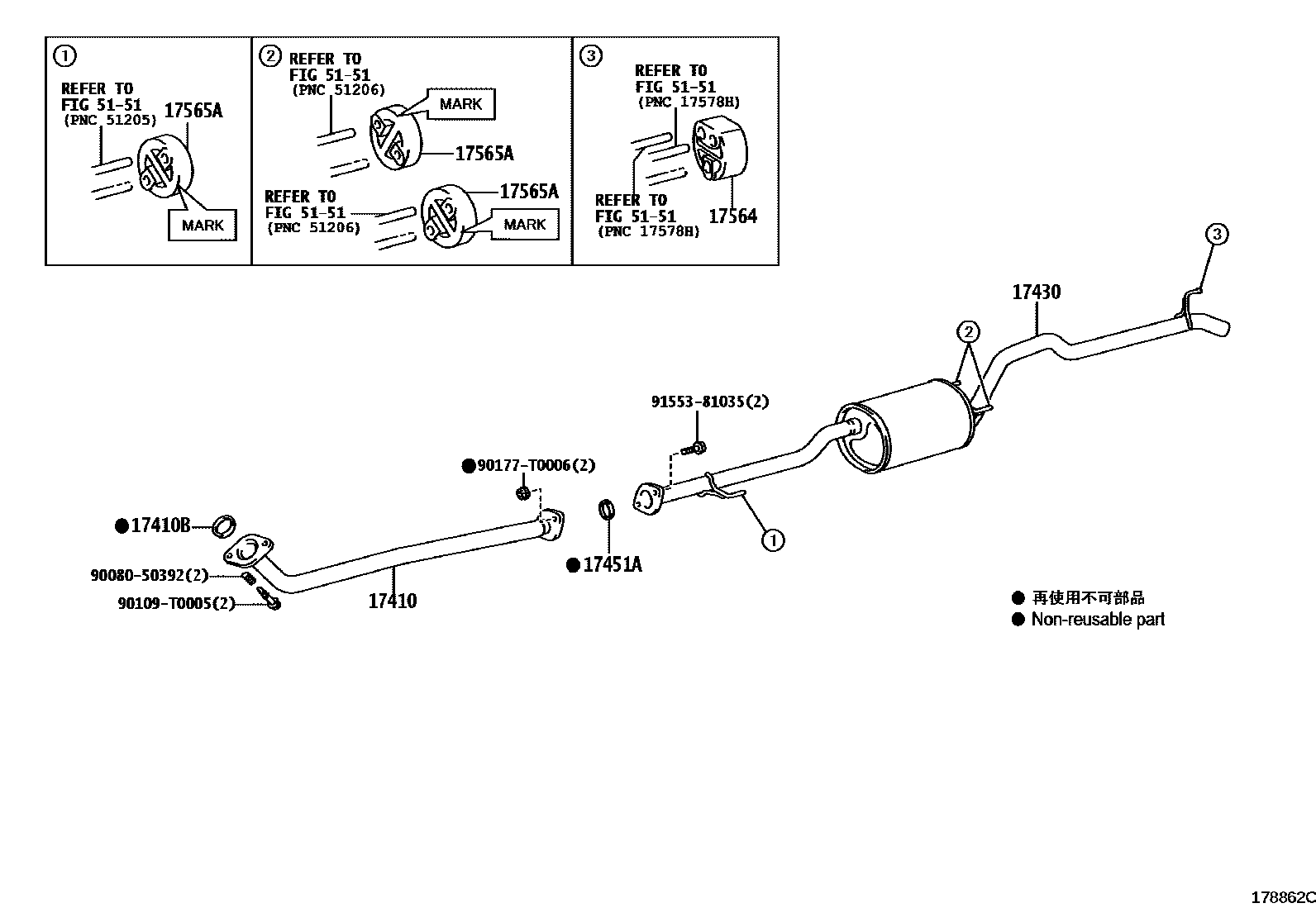
EXHAUST PIPE

17410PIPE ASSY, EXHAUST, FRONT
TURKEY SPEC(EURO 5 REGULATION),TYPE A:REFER ILLUST.
TYPE A:REFER ILLUST.
*114=TOYOTA/ZC3ZC4/Y
main17401-0L201i2GDFTV..GUN135..SAXTR..S;2GDFTV..GUN135..SADCB,SASCB;2GDFTV..GUN125..SADCB,SASCB,SAXTR201604-201905
*114=TOYOTA/ZC3ZC4/Y
TYPE A:REFER ILLUST.
RUSSIA & UKRAINE SPEC,TYPE A:REFER ILLUST.
*114=TOYOTA/ZC3ZD6/Y
17410BGASKET, EXHAUST PIPE
main17451-0L050i2GDFTV..GUN125..THDCB..6F..S..HDCR;2GDFTV..GUN125..THDCB..6FC..(H,M)..HDCR201506-202009
17430PIPE ASSY, EXHAUST, TAIL
TURKEY SPEC(EURO 5 REGULATION)
main17430-0L100i2GDFTV..GUN125..THDCB..(H,S)..HDCR;2GDFTV..GUN125,135..THDCB..6FC..M..HDCR201605-202005
TYPE A:REFER ILLUST.
main17430-0L101i2GDFTV..GUN135..SAXTR..IV3;2GDFTV..GUN135..SADCB,SASCB;2GDFTV..GUN135..SAXTR..S..CBU;2GDFTV..GUN125..SADCB,SASCB,SAXTR201604-202009
TYPE B:REFER ILLUST.
17451AGASKET, EXHAUST PIPE, NO.2
RUSSIA & UKRAINE SPEC
17564SUPPORT,EXHAUST PIPE, NO.4
RUSSIA & UKRAINE SPEC
MADE IN THAILAND
MADE IN INDIA
17565SUPPORT, EXHAUST PIPE, NO.5
17565ASUPPORT, EXHAUST PIPE, NO.4
MARK:17565-0L070
RUSSIA & UKRAINE SPEC,MARK:17565-0L070
MARK:17565-0L080
TURKEY SPEC(EURO 5 REGULATION),MARK:17565-0L080
MADE IN INDIA
RUSSIA & UKRAINE SPEC,MARK:17565-0L080
MARK:17565-0L090
RUSSIA & UKRAINE SPEC,MARK:17565-0L090
NO MARK
RUSSIA & UKRAINE SPEC,NO MARK
MADE IN THAILAND
5151
9008050392
main90080-50392
90109T0005
main90109-T0005
90177T0006
main90177-T0006
9155381035
main91553-81035
12 parts on this diagram · 2 diagrams in section