E
EPC Data
Pricing
API Docs
Sign In
Home
›
EU
›
672580
›
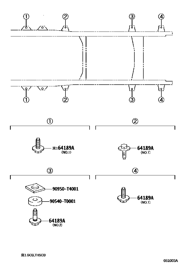
REAR BODY MOUNTING
REAR BODY MOUNTING
64189A
BOLT, REAR BODY MOUNTING
main
64189-0K010
i
KUN2#,35..(DCB,THDCB,XTR)..CBU
201107-201512
NO.1
main
64189-0K020
i
KUN2#,35..CBU
201107-201512
NO.2
90540T0001
main
90540-T0001
90950T4001
main
90950-T4001
3 parts on this diagram · 1 diagram in section
REAR BODY MOUNTING — Toyota Parts Diagram with OEM Numbers & Prices | EPC Data