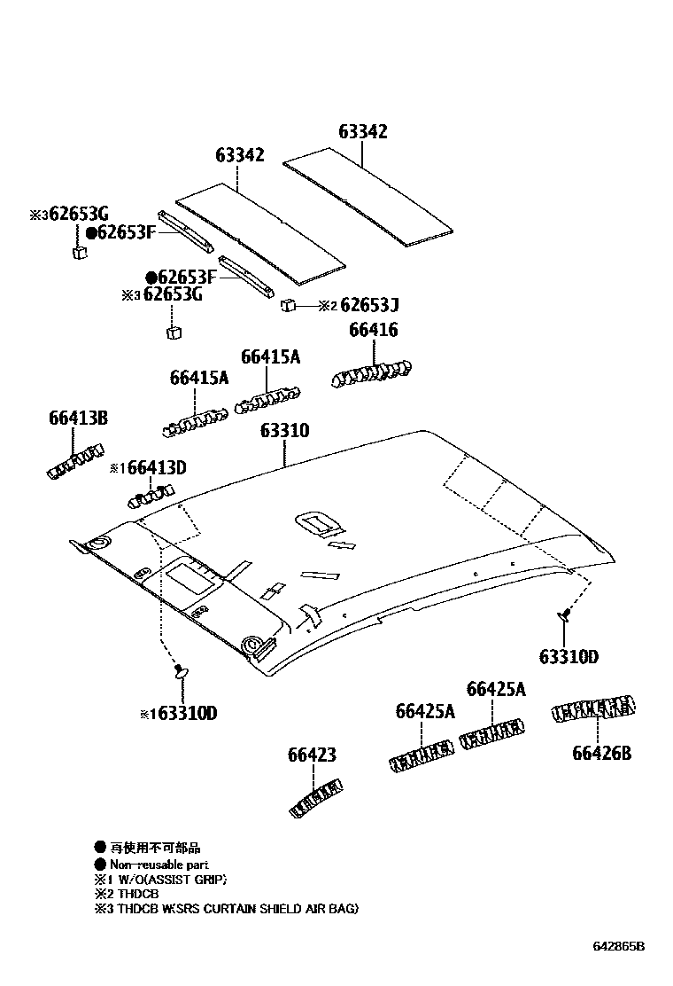
ROOF HEADLINING & SILENCER PAD

62653FPACKING (FOR ROOF HEADLINING)
62653GPACKING,(FOR ROOF HEADLINING)
SRS AIR BAG-WITH(DRIVER&PASSENGER&SIDE&CURTAIN),20X20X30
20X20X30
62653JPACKING
30X45X30
63310HEADLINING ASSY, ROOF
LT. GRAY,TRIM1#,2#
LT. GRAY,TRIM1#,2#
LT. GRAY,TRIM1#,2#
LT. GRAY,TRIM1#,2#
LT. GRAY,TRIM1#,2#
LT. GRAY,TRIM1#,2#
63310DCLIP, ROOF HEADLINING
LT.GRAY,TRIM1#,2#
SRS AIR BAG-WITH(DRIVER&PASSENGER&SIDE&CURTAIN),LT.GRAY,TRIM1#,2#
63342PAD, ROOF SILENCER, NO.2
200X800
200X800
380X900
380X900
66413BSPACER, SIDE RAIL, FRONT RH
66415ASPACER, SIDE RAIL, REAR NO.2 RH
66416SPACER, SIDE RAIL, REAR NO.3 RH
66423SPACER, SIDE RAIL, FRONT LH
66425ASPACER, SIDE RAIL, REAR NO.2 LH
66426BSPACER, SIDE RAIL, REAR NO.3 LH
13 parts on this diagram · 3 diagrams in section