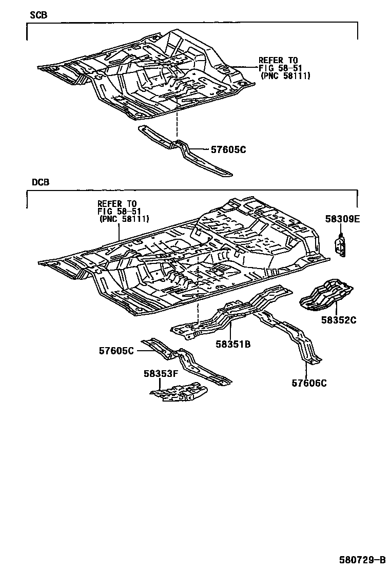
REAR FLOOR PANEL & REAR FLOOR MEMBER

57605CMEMBER SUB-ASSY, REAR FLOOR CROSS
W(BENCH SEAT)
W(SEPARATE SEAT)
W(BENCH SEAT)
W(SEPARATE SEAT)
57606CMEMBER SUB-ASSY, REAR FLOOR CROSS, NO.2
W(REAR SEAT BELT)
58351BREINFORCEMENT, REAR FLOOR PANEL, RH
58352CREINFORCEMENT, REAR FLOOR PANEL, NO.2
58353FREINFORCEMENT, REAR FLOOR PANEL, NO.3
5851
7 parts on this diagram · 2 diagrams in section