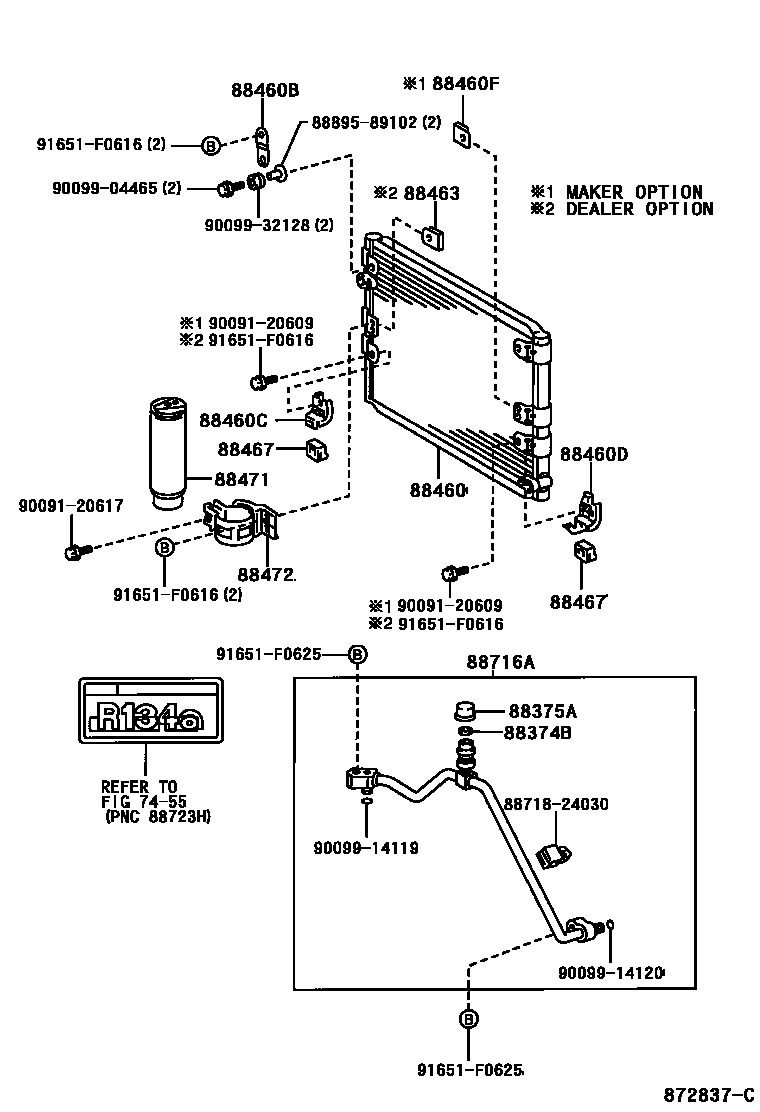
HEATING & AIR CONDITIONING - COOLER PIPING

7455
88374BVALVE, SERVICE, NO.1
88375ACAP, SERVICE VALVE (FOR COOLER PIPE)
88460CONDENSER ASSY, COOLER
88460BBRACKET, COOLER CONDENSER, NO.1
88460CBRACKET, COOLER CONDENSER, NO.2
88460DBRACKET, COOLER CONDENSER, NO.3
88460FBRACKET, COOLER CONDENSER, NO.4
88463BRACKET, COOLER CONDENSER, NO.1
88467CUSHION, COOLER CONDENSER, NO.1
88471TANK, RECEIVER AIR CONDITIONER
88472BRACKET, RECEIVER TANK, NO.1
88716APIPE, COOLER REFRIGERANT LIQUID, A
8871824030PIPE, COOLER REFRIGERANT SUCTION, NO.2
main88718-24030
8889589102HOLDER, FUSE
main88895-89102
9009120609
main90091-20609
9009120617
main90091-20617
9009904465
main90099-04465
9009914119
main90099-14119
9009914120
main90099-14120
9009932128
main90099-32128
91651F0616
main91651-F0616
91651F0625
main91651-F0625
23 parts on this diagram · 3 diagrams in section