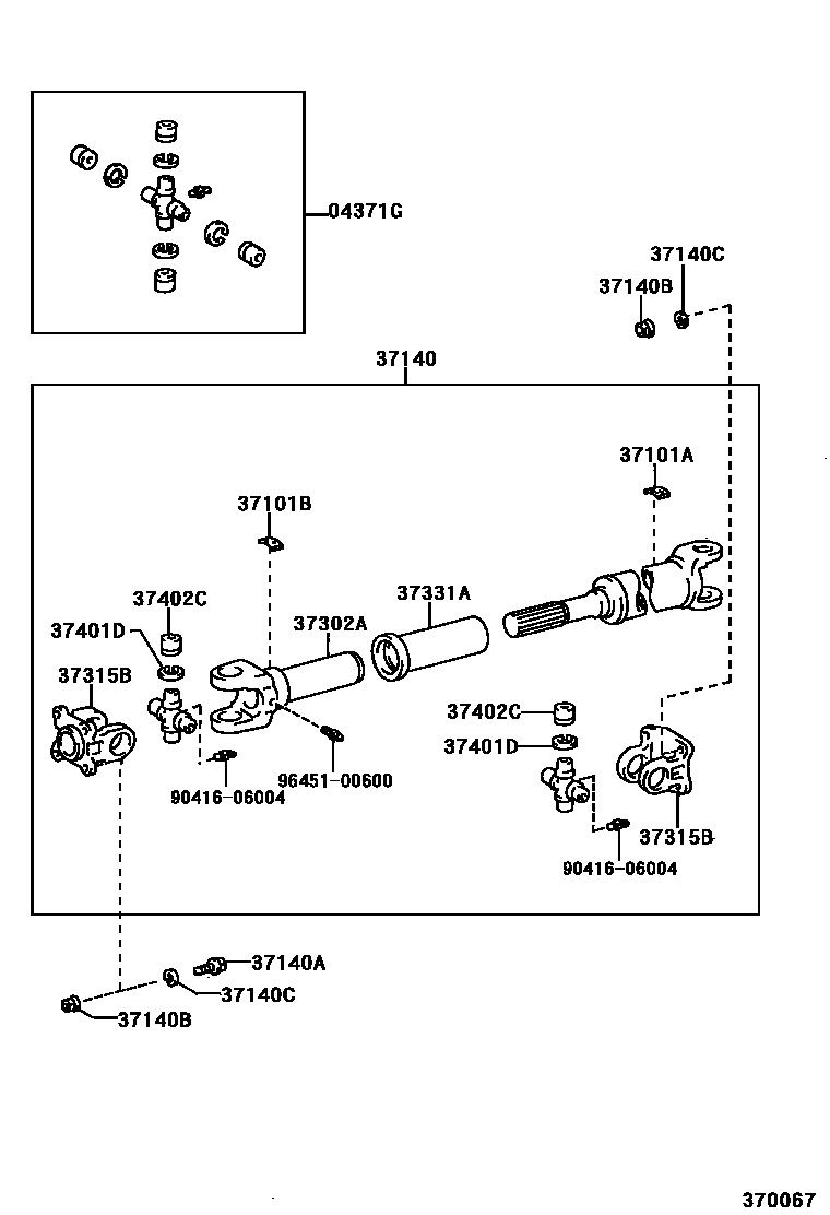
PROPELLER SHAFT & UNIVERSAL JOINT

04371GSPIDER KIT, FRONT PROPELLER SHAFT UNIVERSAL JOINT
sub04371-35051
sub04371-60070
sub04371-35061
sub04371-60060
37101APIECE, BALANCE, NO.1 (FOR PROPELLER SHAFT)
10G,L=20.7
20G,L=41.4
30G,L=62.2
2G,T=2.0
4G,T=2.0
6G,L=12.4
8G,L=16.6
12G,L=24.9
14G,L=29.0
16G,L=33.2
18G,L=37.3
22G,L=45.6
24G,L=49.7
26G,L=53.9
28G,L=58.1
30G,T=4.5,L=27.4
32G,T=4.5,L=29.2
34G,T=4.5,L=31.0
36G,T=4.5,L=32.9
38G,T=4.5,L=34.7
40G,T=4.5,L=36.5
42G,T=4.5,L=38.4
44G,T=4.5,L=40.2
46G,T=4.5,L=42.0
48G,T=4.5,L=43.8
50G,T=4.5,L=45.7
37101BPIECE, BALANCE, NO.2 (FOR PROPELLER SHAFT)
4G,T=1.6
8G,T=1.6
12G,T=4.5
16G,T=4.5
20G,T=4.5
24G,T=4.5,L=25.1
28G,T=6,L=22.7
32G,T=6,L=24.3
36G,L=23.1,T=8.0
40G,L=25.6
44G,L=22.6
48G,L=24.6
52G,L=26.7
56G,L=28.7
60G,L=28.7
6G,L=11
9G,L=13
12G,L=17
15G,L=21
18G,L=17
21G,L=19
24G,L=21
27G,L=19
30G,L=21
33G,L=22
36G,L=24
39G,L=22
42G,L=24
45G,L=25
37140SHAFT ASSY, PROPELLER, FRONT
37140ABOLT (F0R FRONT PROPELLER SHAFT)
37140BNUT (F0R FRONT PROPELLER SHAFT)
37140CWASHER (F0R FRONT PROPELLER SHAFT)
sub90560-10H00
37302AYOKE SUB-ASSY, FR PROPELLER SHAFT UNIVERSAL J0INT SLEEVE
37315BY0KE, FRONT PROPELLER SHAFT UNIVERSAL J0INT FLANGE
37331ACOVER SUB-ASSY, FRONT PROPELLER SHAFT SLIDING SHAFT DUST
37401DRING, SNAP (FOR FRONT PROPELLER SHAFT JOINT SPIDER BEARING)
T=2.29,MARK 1
T=2.31,MARK 2
T=2.33,NO MARK
T=2.35,BROWN
T=2.37,BLUE
T=2.39,MARK 6
T=2.41,MARK 7
T=2.43,MARK 8
T=2.45,MARK 9
T=2.47,MARK 10
T=2.49,MARK A
T=2.51,MARK B
T=2.53,MARK C
T=2.55,MARK D
T=2.57,MARK E
T=2.19,MARK D
T=2.21,MARK E
T=2.23,MARK F
T=2.25,MARK G
T=2.27,MARK H
37402CBEARING, FRONT PROPELLER SHAFT UNIVERSAL JOINT SPIDER
sub04371-60060
9041606004
main90416-06004
9645100600
main96451-00600
14 parts on this diagram · 3 diagrams in section