E
EPC Data
Pricing
API Docs
Sign In
Home
›
EU
›
671460
›
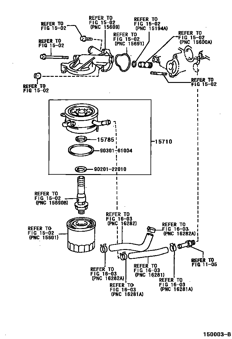
ENGINE OIL COOLER
ENGINE OIL COOLER
0001 1
0002 1
1105
1502
15710
COOLER ASSY, OIL
main
15710-75010
i
3RZFE..RZN185
¥53,700
199511-199705
main
15710-75011
i
3RZFE..RZN185
¥53,800
199705-200008
15785
GASKET, OIL COOLER
main
15785-35010
i
3RZFE..RZN185
¥1,020
199511-200008
1603
9020122010
main
90201-22010
¥160
9030161004
main
90301-61004
7 parts on this diagram · 2 diagrams in section
ENGINE OIL COOLER — Toyota Parts Diagram with OEM Numbers & Prices | EPC Data