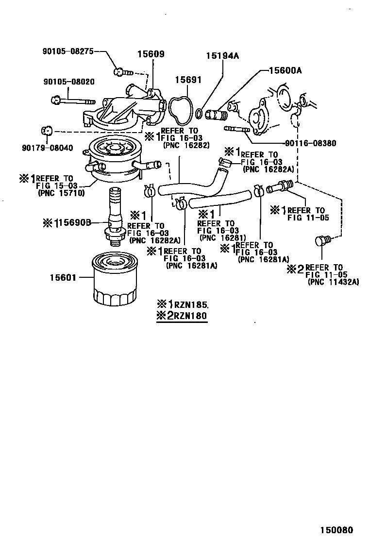
OIL FILTER

1105
1503
15194ARING, O
15600AUNION(FOR OIL FILTER)
15601FILTER SUB-ASSY, OIL
15609BRACKET SUB-ASSY, OIL FILTER
15690BVALVE ASSY, OIL COOLER RELIEF
15691GASKET, OIL FILTER
1603
9010508020
9010508275
9011608380
9017908040
13 parts on this diagram · 2 diagrams in section