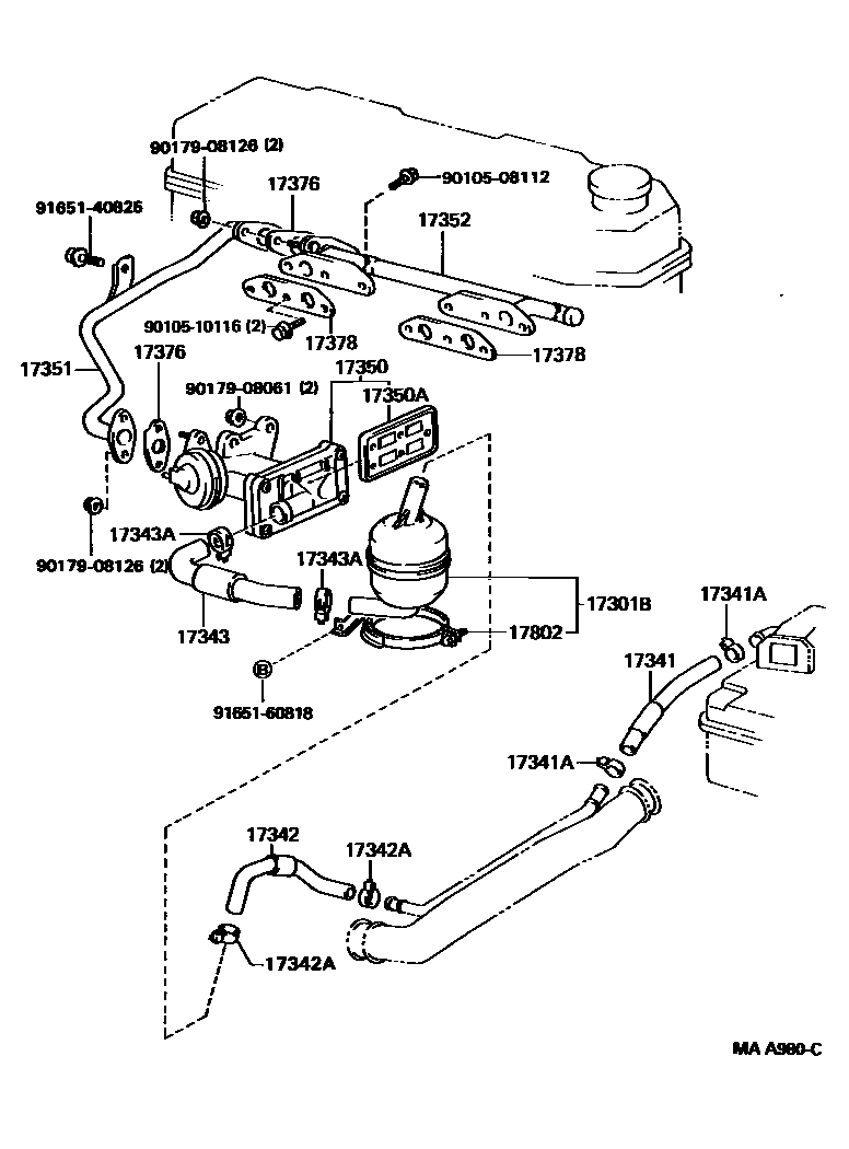
MANIFOLD AIR INJECTION SYSTEM

17301BSILENCER SUB-ASSY, AIR SUCTION
17341HOSE, NO.1(FOR AIR INJECTION SYSTEM)
17342HOSE, NO.2(FOR AIR INJECTION SYSTEM)
17342ACLAMP OR CLIP, NO.2(FOR AIR INJECTION SYSTEM HOSE, NO.2)
sub96134-52600
17343HOSE, NO.3(FOR AIR INJECTION SYSTEM)
17343ACLAMP OR CLIP, NO.3(FOR AIR INJECTION SYSTEM HOSE, NO.3)
sub96134-52600
17350VALVE ASSY, REED
17350AVALVE SUB-ASSY, REED
17351MANIFOLD, AIR INJECTION
17352MANIFOLD, AIR INJECTION, NO.2
17376GASKET, AIR TUBE, NO.1
17378GASKET AIR TUBE, NO.3
17802BRACKET SUB-ASSY, RESONATOR
9010508112
main90105-08112
9010510116
main90105-10116
9017908061
main90179-08061
9017908126
main90179-08126
9165140825
main91651-40825
9165160818
main91651-60818
20 parts on this diagram · 2 diagrams in section