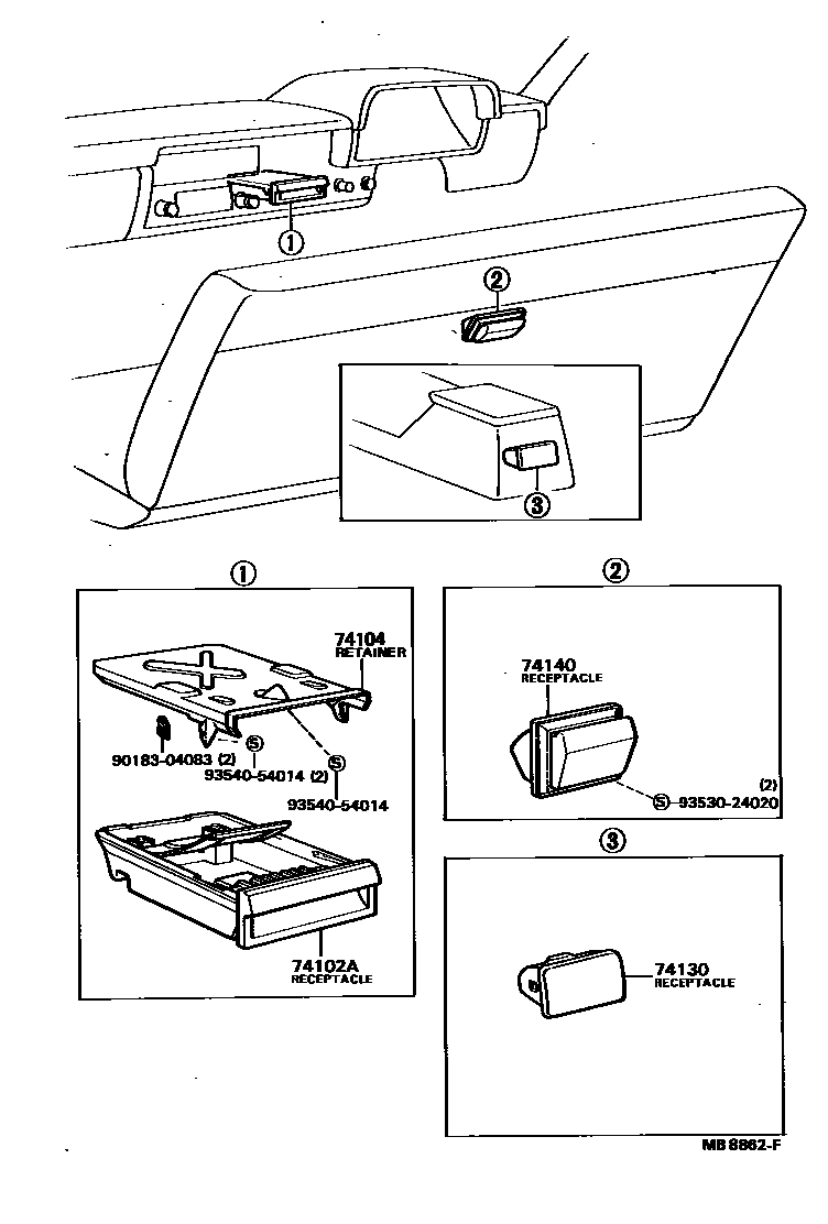
ASH RECEPTACLE

74102ARECEPTACLE ASSY, FRONT ASH
74104RETAINER SUB-ASSY, ASH RECEPTACLE, NO.1
74130RECEPTACLE ASSY, REAR ASH
74140RECEPTACLE ASSY, ASH(FOR SEAT)
9018304083
main90183-04083
9353024020
main93530-24020
9354054014
main93540-54014
7 parts on this diagram · 1 diagram in section