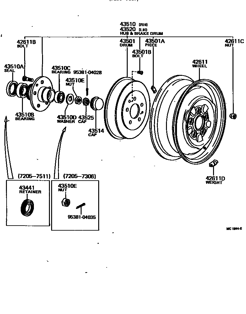
FRONT AXLE HUB

42611WHEEL, DISC
4.5J-14
4.5J-14
5J-14
42611CNUT, HUB (FOR FRONT AXLE)
CAP NUT
42611DWEIGHT, BALANCE(FOR FRONT DISC WHEEL)
20G.
30G.
40G.
50G.
60G.
70G.
80G.
10G.
43441RETAINER, STEERING KNUCKLE GREASE
43501DRUM SUB-ASSY, FRONT BRAKE
sub42431-35130
43501APIECE, BALANCE (FOR FRONT BRAKE DRUM)
40.5G,40G.
10G,10G.
20G,20G.
30G,30G.
25G,50G.
43501BBOLT, SET (FOR FRONT BRAKE DRUM SETTING)
43510ASEAL, OIL (FOR FRONT AXLE HUB)
43510DWASHER, CLAW (FOR STEERING KNUCKLE WASHER)
43525CAP, FRONT WHEEL ADJUSTING LOCK
9538104028
main95381-04028
9538104035
main95381-04035
19 parts on this diagram · 1 diagram in section