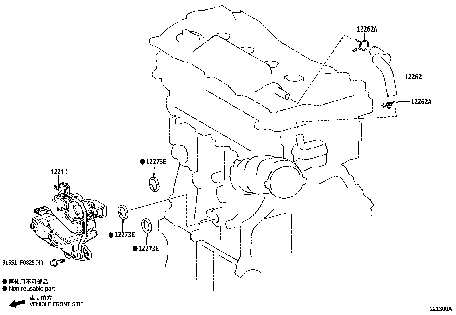
VENTILATION HOSE

12211CASE, VENTILATION, NO.1
main12211-24010iM20AFKS..MXAA52..JPP..CVT;M20AFKS..MXAA52..6F..(EUR,SA);M20AFKS..MXAA52..LHD..6F..GEN;M20AFKS..MXAA54..JPP..CVT..(M,X);M20AFKS..MXAA54..(G,V)..(EUR,GEN,SA);M20AFKS.201811-202208
main12211-24020iM20AFKS..MXAA52..X..(ARL,GCC,GEN);M20AFKS..MXAA52..(G,M)..(ARL,GEN,SA);M20AFKS..MXAA54..JPP..(GCC,GEN,RUS,SA)202208-202310
sub12211-25011
REGULATION COMPLIANCE LABEL & NAME PLATE-*NTA LABEL&UKRAINE,MOLDOVA SPEC&EXHAUST EMISSION CONTROL-EURO6 UNDER,WITH(ON BOARD DIAGNOSIS)
CHILE SPEC
PANAMA SPEC
REGULATION COMPLIANCE LABEL & NAME PLATE-*NTA LABEL&UKRAINE,MOLD SPEC&EXHAUST EMISSION CONTROL-EURO6 UNDER,WITH(ON BOARD DIAGNOSIS)
EGYPT SPEC
12262HOSE, VENTILATION, NO.2
main12262-24060iM20AFKS..MXAA52..X..(ARL,GCC,GEN);M20AFKS..MXAA52..(G,M)..(ARL,GEN,SA);M20AFKS..MXAA54..JPP..(GCC,GEN,RUS,SA)201811-202310
main12262-25080iA25AFXS..AXAL5#..ARL;A25AFXS..AXAH5#..RHD..M..GEN;A25AFXS..AXAH5#,AXAL5#..RHD..X..EUR201811-202410
12262ACLIP(FOR VENTILATION HOSE NO.2)
main90467-21004iM20AFKS..MXAA52..X..(ARL,GCC,GEN);M20AFKS..MXAA52..(G,M)..(ARL,GEN,SA);M20AFKS..MXAA54..JPP..(GCC,GEN,RUS,SA)201811-202410
12273EGASKET(FOR VENTILATION CASE)
EGYPT SPEC
REGULATION COMPLIANCE LABEL & NAME PLATE-*NTA LABEL&UKRAINE,MOLDOVA SPEC&EXHAUST EMISSION CONTROL-EURO6 UNDER,WITH(ON BOARD DIAGNOSIS)
CHILE SPEC
PANAMA SPEC
REGULATION COMPLIANCE LABEL & NAME PLATE-*NTA LABEL&UKRAINE,MOLD SPEC&EXHAUST EMISSION CONTROL-EURO6 UNDER,WITH(ON BOARD DIAGNOSIS)
91551F0825
main91551-F0825
5 parts on this diagram · 3 diagrams in section