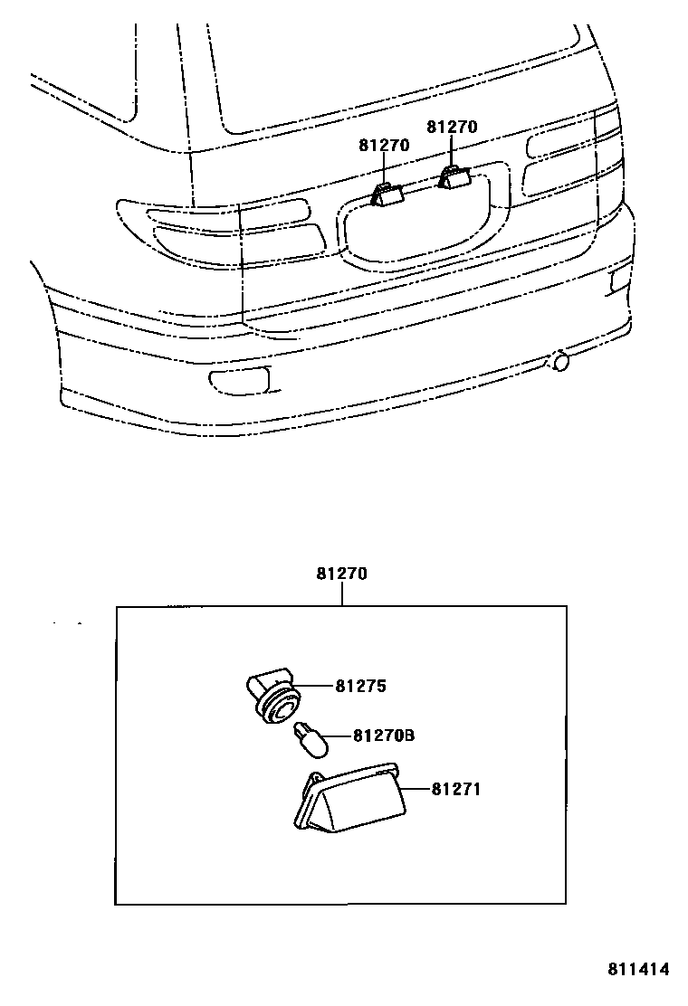
REAR LICENSE PLATE LAMP

81270LAMP ASSY, LICENSE PLATE
RH
LH
81270BBULB (FOR LICENSE PLATE LAMP)
12V 5W
81271LENS, LICENSE PLATE LAMP
RH
LH
81275SOCKET AND WIRE, LICENSE PLATE LAMP
4 parts on this diagram · 1 diagram in section

4 parts on this diagram · 1 diagram in section