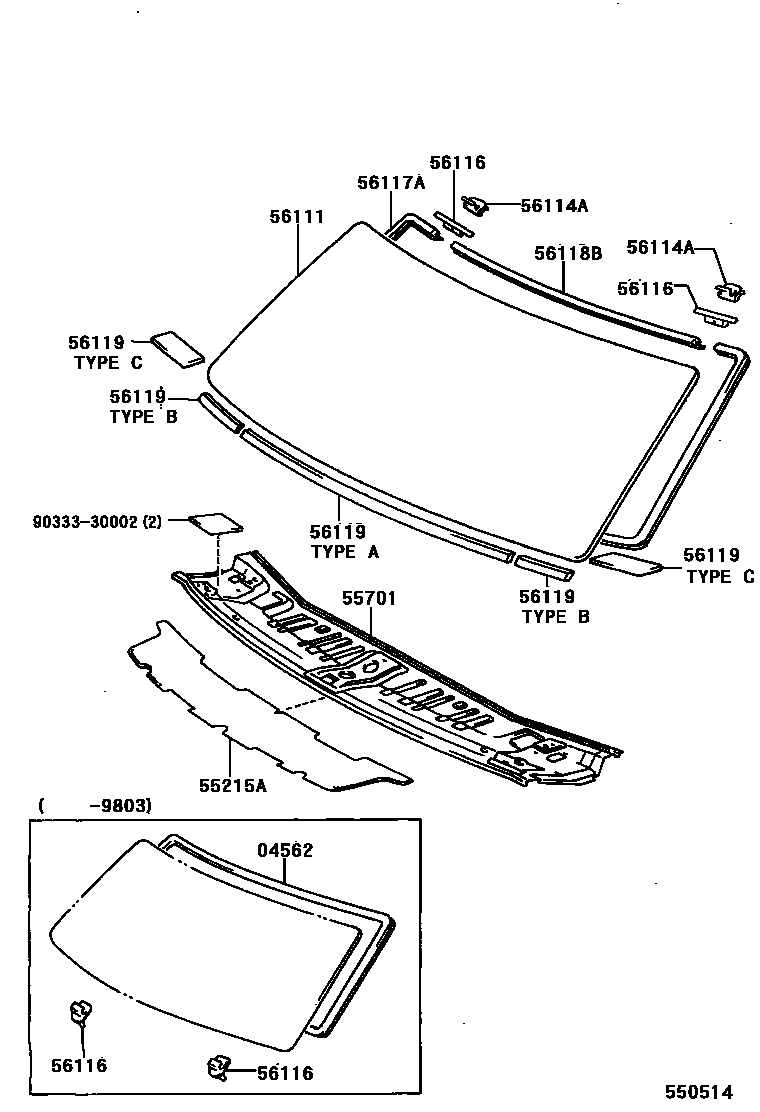
COWL PANEL & WINDSHIELD GLASS

04562DAM KIT, WINDSHIELD GLASS
55215APAD, DASH PANEL INSULATOR, NO.3
55701PANEL SUB-ASSY, COWL
56111GLASS, WINDSHIELD
*TL,T=5.3,BLUE
*LAM,T=5.3,GREEN
*TL,T=5.3,BLUE
*LAM,T=5.3,BRONZE
*LAM,T=5.3,BRONZE
56114ARETAINER, BACK WINDOW GLASS
56116SPACER, WINDSHIELD GLASS
56118BDAM, WINDOW GLASS ADHESIVE, NO.2
56119SEAL, WINDSHIELD GLASS
TYPE A
TYPE B
TYPE C
9033330002
main90333-30002
10 parts on this diagram · 2 diagrams in section