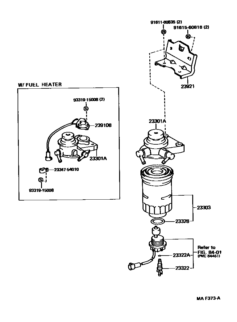
FUEL FILTER

23301ACAP ASSY, FUEL FILTER
W(FUEL HEATER)
23303ELEMENT SUB-ASSY, FUEL FILTER
23322PLUG, DRAIN(FOR FUEL FILTER)
23322ARING, O(FOR DRAIN PLUG)
23328GASKET(FOR FUEL FILTER)
23910BHEATER ASSY, FUEL
8401
2334754010CLIP, CORD
main23347-54010
9161160835
main91611-60835
9161560816
main91615-60816
9331915008
main93319-15008
12 parts on this diagram · 2 diagrams in section