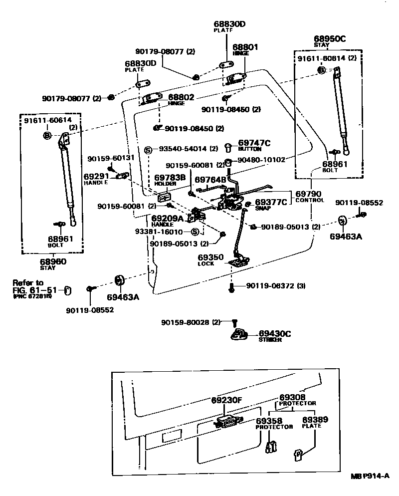
BACK DOOR LOCK & HINGE

6151
68801HINGE SUB-ASSY, BACK DOOR, UPPER RH
W(REAR WINDOW WIPER)
68802HINGE SUB-ASSY, BACK DOOR, UPPER LH
68830DPLATE, BACK DOOR HINGE
68950CSTAY ASSY, BACK DOOR, RH
COLD SPEC OR W(REAR WINDOW WIPER)
68960STAY ASSY, BACK DOOR, LH
W(REAR WINDOW WIPER)
68961BOLT, BACK DOOR STAY
69209AHANDLE SUB-ASSY, BACK DOOR, INSIDE
69291HANDLE ASSY, BACK DOOR INSIDE
69308PROTECTOR SUB-ASSY, BACK DOOR LOCK
69350LOCK ASSY, BACK DOOR
69358PROTECTOR, BACK DOOR LOCK
69377CSNAP, DOOR LOCK CONTROL ROD
69389PLATE, BACK DOOR LOCK
69430CSTRIKER ASSY, BACK DOOR LOCK
sub69430-95702
69463ASTOPPER, BACK DOOR MALE, LOWER
69747CBUTTON, DOOR LOCKING(FOR BACK DOOR)
sub69743-87001
69764BLINK, BACK DOOR LOCK CONTROL, RH
69783BBEZEL, BACK DOOR INSIDE HANDLE
69790CONTROL ASSY, BACK DOOR LOCK
9011906372
main90119-06372
9011908450
main90119-08450
9011908552
main90119-08552
9015960081
main90159-60081
9015960131
main90159-60131
9015980028
main90159-80028
9017908077
main90179-08077
9018905013
main90189-05013
9048010102
main90480-10102
9161160614
main91611-60614
9338116010
main93381-16010
9354054014
main93540-54014
33 parts on this diagram · 1 diagram in section