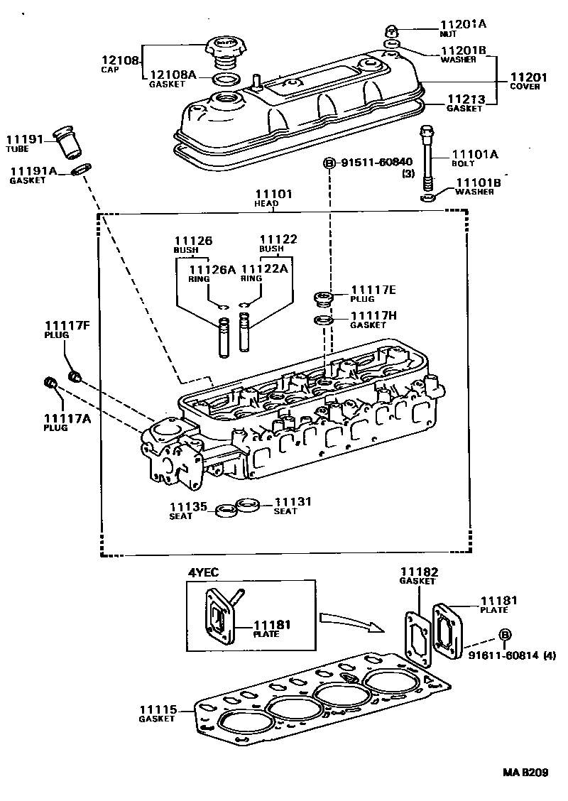
CYLINDER HEAD

11101HEAD SUB-ASSY, CYLINDER
11101ABOLT(FOR CYLINDER HEAD SET)
11101BWASHER, PLATE(FOR CYLINDER HEAD SET)
11117APLUG, W/HEAD TAPER SCREW, NO.1
11117EPLUG, W/HEAD STRAIGHT SCREW, NO.1
11117FPLUG, W/HEAD STRAIGHT SCREW, NO.2
11117HGASKET(FOR WATER HOLE)
11122BUSH, INTAKE VALVE GUIDE
STD
O/S 0.05
11122ARING, SHAFT SNAP (FOR VALVE GUIDE BUSH)
11126BUSH, EXHAUST VALVE GUIDE
STD
O/S 0.05
11126ARING, SHAFT SNAP(FOR VALVE GUIDE BUSH)
11131SEAT, INTAKE VALVE
STD
O/S 0.03
11135SEAT, EXHAUST VALVE
STD
O/S 0.03
11181PLATE, CYLINDER HEAD, REAR
11191TUBE, SPARK PLUG
11191AGASKET(FOR SPARK PLUG TUBE)
sub90430-31003
11201COVER SUB-ASSY, CYLINDER HEAD
11201ANUT, CAP(FOR CYLINDER HEAD COVER)
11201BWASHER, SEAL(FOR CYLINDER HEAD COVER)
sub90210-09019
11213GASKET, CYLINDER HEAD COVER
12108CAP SUB-ASSY, OIL FILLER
sub12180-70020
12108AGASKET(FOR OIL FILLER CAP)
9151160840
main91511-60840
9161160814
main91611-60814
26 parts on this diagram · 1 diagram in section