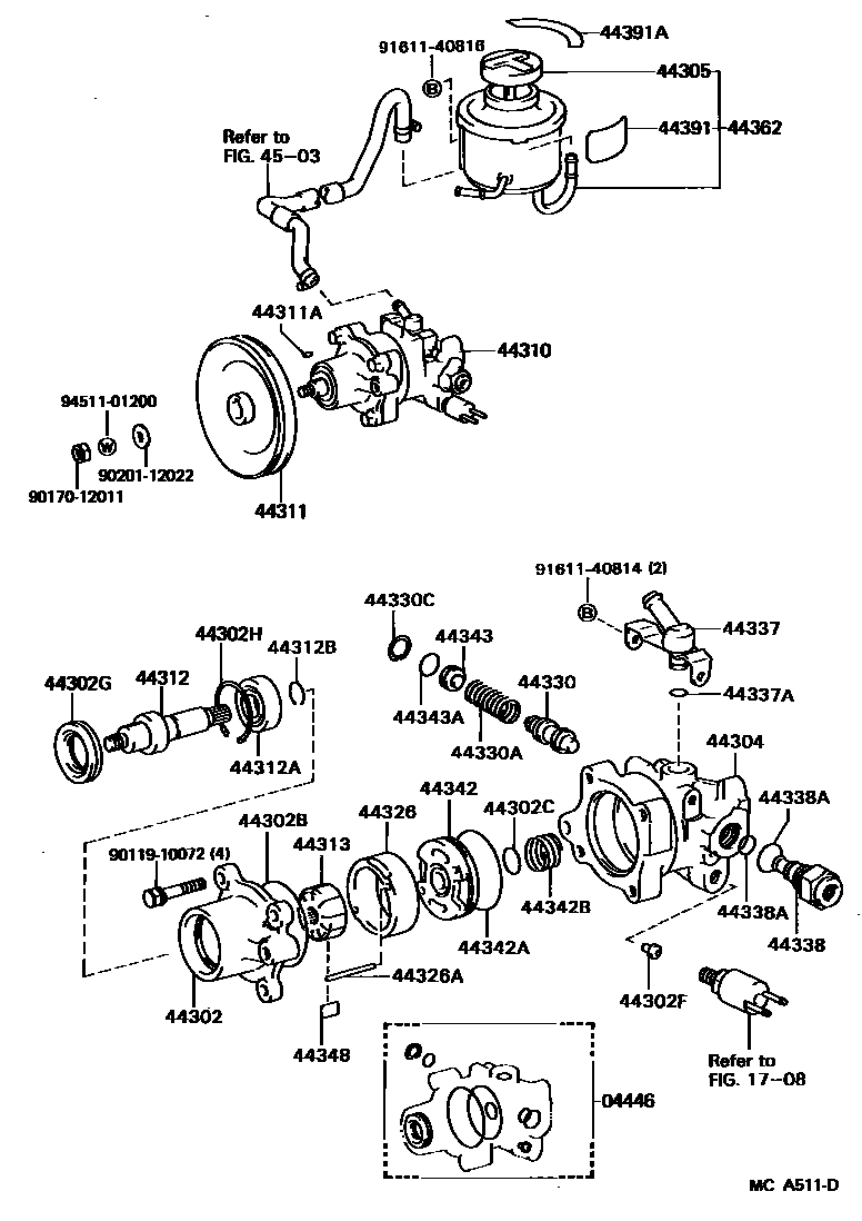
VANE PUMP & RESERVOIR (POWER STEERING)

04446GASKET KIT, POWER STEERING PUMP
1708
44302HOUSING SUB-ASSY, VANE PUMP, FRONT
44302BRING, O, NO.1(FOR VANE PUMP HOUSING)
44302CRING, O, NO.2(FOR VANE PUMP HOUSING)
44302FSEAT, UNION(FOR VANE PUMP HOUSING)
44302GSEAL, OIL, NO.2(FOR VANE PUMP HOUSING)
44302HRING, SNAP, NO.1(FOR VANE PUMP HOUSING)
44304HOUSING SUB-ASSY, VANE PUMP, REAR
44305CAP SUB-ASSY, VANE PUMP OIL RESERVOIR
44310PUMP ASSY, VANE
44311PULLEY, VANE PUMP
44311AKEY, VANE PUMP PULLEY
44312SHAFT, VANE PUMP
44312ABEARING(FOR VANE PUMP SHAFT)
44312BRING, SNAP, NO.1(FOR VANE PUMP SHAFT)
44313ROTOR, VANE PUMP
44326RING, CAM(FOR VANE PUMP)
NO MARK
MARK 1,MARK 1
MARK 2,MARK 2
MARK 3,MARK 3
MARK 4,MARK 4
44326APIN, STRAIGHT(FOR VANE PUMP CAM RING)
L=25,OD=5.0
44330VALVE ASSY, FLOW CONTROL
44330ASPRING, COMPRESSION(FOR FLOW CONTROL VALVE)
44330CRING, SNAP(FOR FLOW CONTROL VALVE)
44337UNION, POWER STEERING SUCTION PORT
44337ARING, O(FOR POWER STEERING SUCTION PORT)
44338UNION, PRESSURE PORT
44338ARING, O(FOR PRESSURE PORT UNION)
OD=25.5,ID=22.5,ID=22.5
OD=17.0,ID=13.0,ID=14
44342PLATE, VANE PUMP SIDE, REAR
44342ARING, O(FOR VANE PUMP SIDE PLATE REAR)
44342BSPRING, COMPRESSION(FOR VANE PUMP SIDE PLATE REAR)
44343SEAT, FLOW CONTROL SPRING
44343ARING, O(FOR FLOW CONTROL SPRING SEAT)
44348PLATE, VANE PUMP
L=14.997,L=14.996-14.998,POTOR NO MARK
L=14.995,L=14.994-14.996,ROTOR MARK 1
L=14.993,L=14.992-14.994,ROTOR MARK 2
L=14.991,L=14.990-14.992,ROTOR MARK 3
L=14.989,L=14.998-14.990,ROTOR MARK 4
44362RESERVOIR, OIL(FOR VANE PUMP)
44391PLATE, POWER STEERING OIL RESERVOIR CAUTION
44391APLATE, OIL RESERVOIR CAUTION
4503
9011910072
9017012011
9020112022
9161140814
9161140816
9451101200
42 parts on this diagram · 1 diagram in section