E
EPC Data

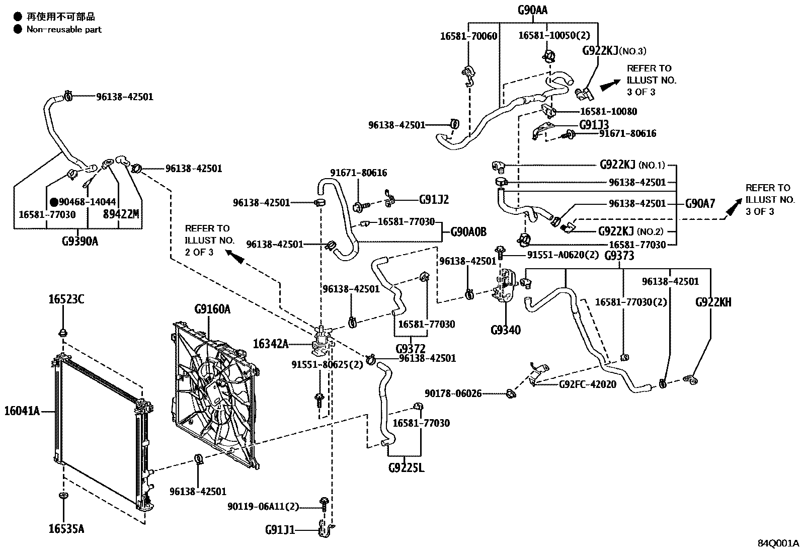
BEV COOLING

Parts diagram
16041ARADIATOR SUB-ASSY, L/CAP
main16041-10010i202301-202311
16342AVALVE, WATER CONTROL
main16342-10010i202301-202311
16523CCUSHION, RADIATOR SUPPORT
main16523-37010i202301-202311
16535ASUPPORT, RADIATOR, LOWER
main90480-40021i202301-202311
89422MSENSOR, WATER TEMPERATURE
main89422-33040i202301-202311
G90A0BHOSE ASSY, INVERTER COOLING, NO.1
mainG90A242010i202301-202311
G90A7HOSE SUB-ASSY, INVERTER COOLING, NO.7
mainG90A742010i202301-202311
G90AAHOSE SUB-ASSY, INVERTER COOLING, NO.10
mainG90AA42010i202301-202311
G9160AFAN ASSY, INVERTER COOLING W/MOTOR
mainG916042020i202301-202311
G91J1BRACKET, INVERTER COOLING, NO.1
mainG91J142010i202301-202311
mainG91J142030i202311
G91J2BRACKET, INVERTER COOLING, NO.2
mainG91J242010i202301-202311
G91J3BRACKET, INVERTER COOLING, NO.3
mainG91J342010i202301-202311
G9225LHOSE, INVERTER COOLING, NO.1
mainG922542030i202301-202311
G922KHCONNECTOR, WATER HOSE, NO.1
mainG922K33020i202301-202311
G922KJCONNECTOR, WATER HOSE, NO.2
mainG922K33020i202301-202311
NO.1
mainG922K33030i202301-202311
NO.3
mainG922K47011i202301-202311
NO.2
G9340HEATER ASSY, BATTERY COOLANT
mainG96H142020i202301-202311
G9372HOSE, EV WATER BY-PASS, NO.2
mainG937242010i202301-202311
G9373HOSE, EV WATER BY-PASS, NO.3
mainG93A042010i202301-202311
G9390HOSE ASSY, EV WATER PUMP, NO.1
mainG938042010i202301-202311
G9390AHOSE ASSY, EV WATER PUMP, NO.2
mainG939042010i202301-202311
1658110050CLAMP, HOSE(FOR WATER HOSE)
1658110080CLAMP, HOSE(FOR WATER HOSE)
1658170060CLAMP, HOSE(FOR WATER HOSE)
1658177030CLAMP, HOSE(FOR WATER HOSE)
9011906A11
9017806026
9046814044
9155180625
91551A0620
9167180616
9613842501
G92FC42020BRACKET, BATTERY COOLING, NO.1

32 parts on this diagram · 7 diagrams in section

BEV COOLING — Toyota Parts Diagram with OEM Numbers & Prices | EPC Data