BACK DOOR LOCK & HANDLE

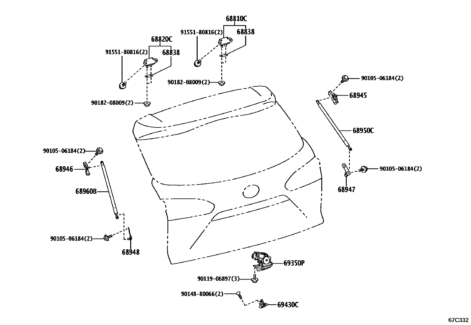
68810CHINGE ASSY, BACK DOOR, RH
68820CHINGE ASSY, BACK DOOR, LH
68838PAD, BACK DOOR HINGE, NO.1
T=1.0
T=1.5
T=2.0
68945BRACKET, BACK DOOR DAMPER STAY, UPPER RH
POWER BACK DOOR-WITH
68946BRACKET, BACK DOOR DAMPER STAY, UPPER LH
POWER BACK DOOR-WITH
68947BRACKET, BACK DOOR DAMPER STAY, LOWER RH
68948BRACKET, BACK DOOR DAMPER STAY, LOWER LH
68950CSTAY ASSY, BACK DOOR, RH
68960BSTAY ASSY, BACK DOOR, LH
69350PLOCK ASSY, BACK DOOR, W/COURTESY LAMP SWITCH
POWER BACK DOOR-WITH
69430CSTRIKER ASSY, BACK DOOR LOCK
9010506184
main90105-06184
9011906897
main90119-06897
9014880066
main90148-80066
9018208009
main90182-08009
9155180816
main91551-80816
16 parts on this diagram · 2 diagrams in section