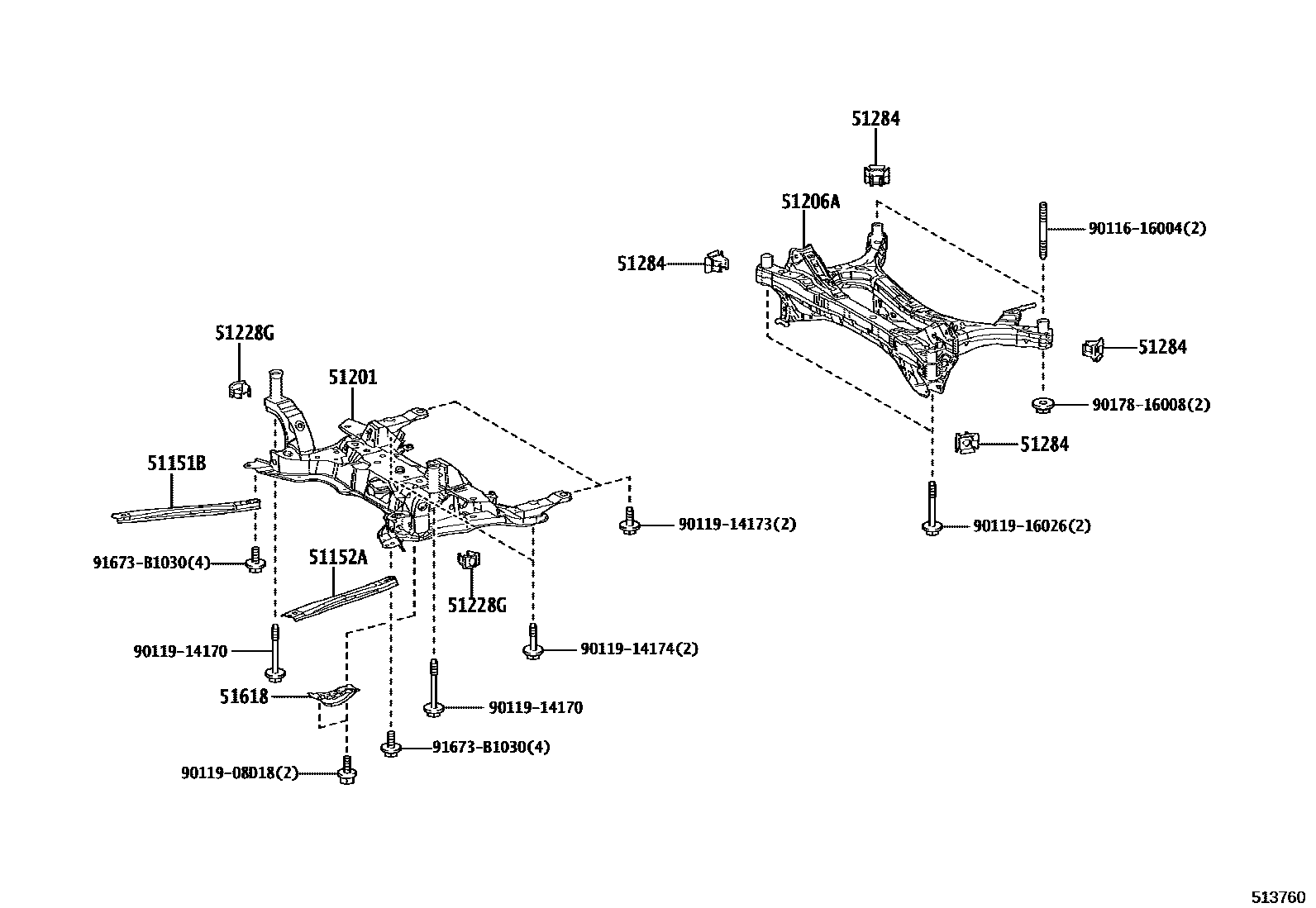
SUSPENSION CROSSMEMBER & UNDER COVER

51151BREINFORCEMENT, SIDE RAIL, NO.1 RH
51152AREINFORCEMENT, SIDE RAIL, NO.1 LH
51201CROSSMEMBER SUB-ASSY, FRONT SUSPENSION
51228GPLATE, FRONT SUSPENSION MEMBER
51284COVER, REAR SUSPENSION MEMBER HOLE
51618GUARD, FRONT DIFFERENTIAL SUPPORT, LH
9011616004
main90116-16004
9011908D18
main90119-08D18
9011914170
main90119-14170
9011914173
main90119-14173
9011914174
main90119-14174
9011916026
main90119-16026
9017816008
main90178-16008
91673B1030
main91673-B1030
15 parts on this diagram · 2 diagrams in section