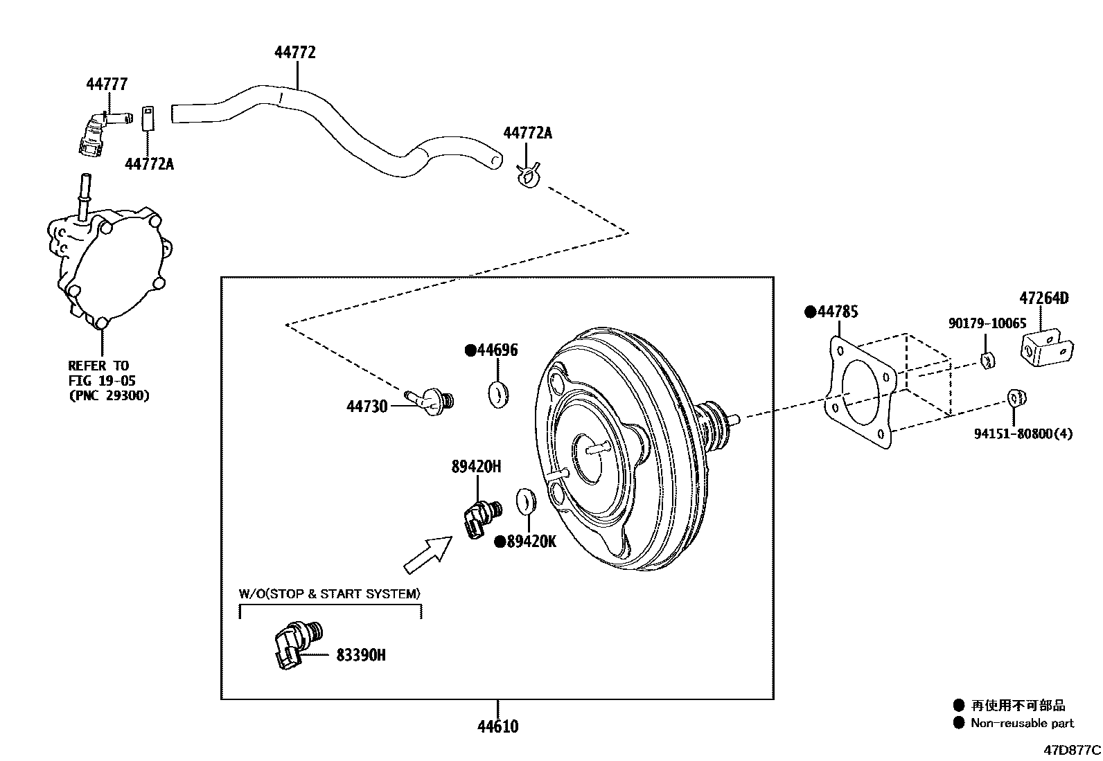
BRAKE BOOSTER & VACUUM TUBE

1905
44610BOOSTER ASSY, BRAKE
PERU SPEC&EXHAUST EMISSION CONTROL-EURO 5
GUATEMALA SPEC&EXHAUST EMISSION CONTROL-EURO 5
PANAMA SPEC&EXHAUST EMISSION CONTROL-EURO 5
DEST.PACKAGE (EXC/ERP.)-DOMINICA SPEC&EXHAUST EMISSION CONTROL-EURO 5
DEST.PACKAGE (EXC/ERP.)-PHILIPPINES SPEC&EXHAUST EMISSION CONTROL-EURO 5
DESTINATION PACKAGE(ERP)&RUSSIA SPEC
DESTINATION PACKAGE(ERP)&UKRAINE SPEC
DESTINATION PACKAGE(ERP)&ISRAEL SPEC
DESTINATION PACKAGE(ERP)&DEST.PACKAGE (EXC/ERP.)-KAZAKHSTAN SPEC
44696GROMMET, CHECK VALVE
44730VALVE ASSY, VACUUM CHECK(FOR BRAKE)
44772HOSE, CHECK VALVE TO CONNECTOR TUBE
44772ACLIP(FOR CHECK VALVE TO CONNECTOR TUBE)
44777CONNECTOR, VACUUM HOSE, NO.1
44785GASKET, BRAKE BOOSTER
47264DCLEVIS, BRAKE MASTER CYLINDER PUSH ROD
83390HSWITCH ASSY, VACUUM WARNING
EXHAUST EMISSION CONTROL-EURO 5
89420HSENSOR ASSY, VACUUM
89420KGROMMET, VACUUM SENSOR
9017910065
main90179-10065
9415180800
main94151-80800
14 parts on this diagram · 2 diagrams in section