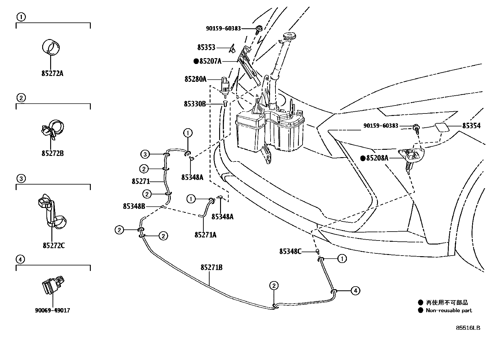
HEADLAMP CLEANER

85207AACTUATOR SUB-ASSY, HEADLAMP WASHER, RH
85208AACTUATOR SUB-ASSY, HEADLAMP WASHER, LH
85271HOSE, HEADLAMP CLEANER, NO.1
main85277-F4030
main85276-F4030
main85275-F4030
main85277-F4040
main85275-F4040
main85276-F4040
85271AHOSE, HEADLAMP CLEANER, NO.2
85271BHOSE, HEADLAMP CLEANER, NO.3
85272ACLAMP, HEADLAMP CLEANER, NO.1
85272BCLAMP, HEADLAMP CLEANER, NO.2
85272CCLAMP, HEADLAMP CLEANER, NO.3
85280AMOTOR AND PUMP ASSY, HEADLAMP CLEANER
85330BBUSH, HEADLAMP CLEANER WASHER JAR
85348AJOINT, HEADLAMP CLEANER HOSE, NO.1
85348BJOINT, HEADLAMP CLEANER HOSE, NO.2
85348CJOINT, HEADLAMP CLEANER HOSE, NO.3
85353COVER, HEADLAMP WASHER, RH
main85353-F4904
85354COVER, HEADLAMP WASHER, LH
main85354-F4904
9006949017
main90069-49017
9015960383
main90159-60383
17 parts on this diagram · 2 diagrams in section