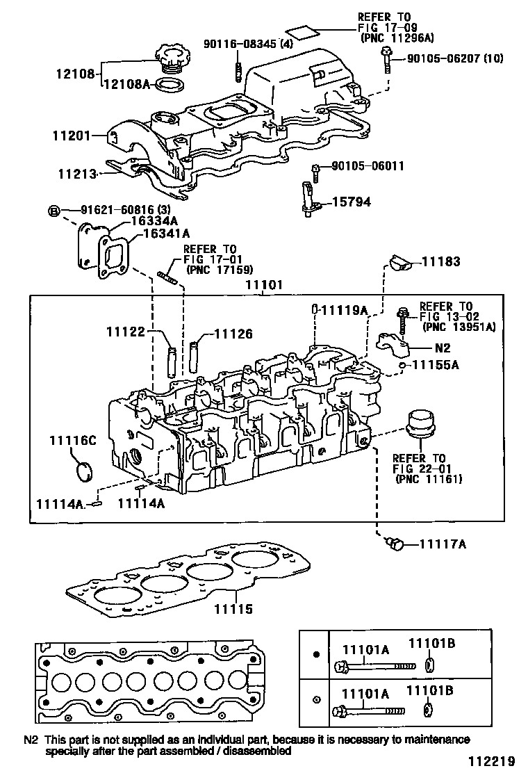
CYLINDER HEAD

11101HEAD SUB-ASSY, CYLINDER
11101ABOLT(FOR CYLINDER HEAD SET)
*11-1.25PX145-53
*11-1.25PX123-53
11101BWASHER, PLATE(FOR CYLINDER HEAD SET)
11114APIN, STRAIGHT
L=11,OD=6
11115GASKET, CYLINDER HEAD
MARK 1
MARK 2
MARK 3
11116CPLUG, TIGHT, NO.3
11117APLUG, W/HEAD TAPER SCREW, NO.1
11119APIN, STRAIGHT, NO.1
L=14,OD=6
L=16,OD=6
11122BUSH, INTAKE VALVE GUIDE
STD
STD
O/S 0.05
O/S 0.05
11126BUSH, EXHAUST VALVE GUIDE
O/S 0.05
STD
O/S 0.05
12108CAP SUB-ASSY, OIL FILLER
12108AGASKET(FOR OIL FILLER CAP)
1302
15794NOZZLE, CYLINDER HEAD OIL
16334ACOVER, WATER OUTLET HOUSING
16341AGASKET, WATER OUTLET
1701
1709
2201
9010506011
main90105-06011
9010506207
main90105-06207
9011608345
main90116-08345
9162160816
main91621-60816
27 parts on this diagram · 2 diagrams in section