E
EPC Data

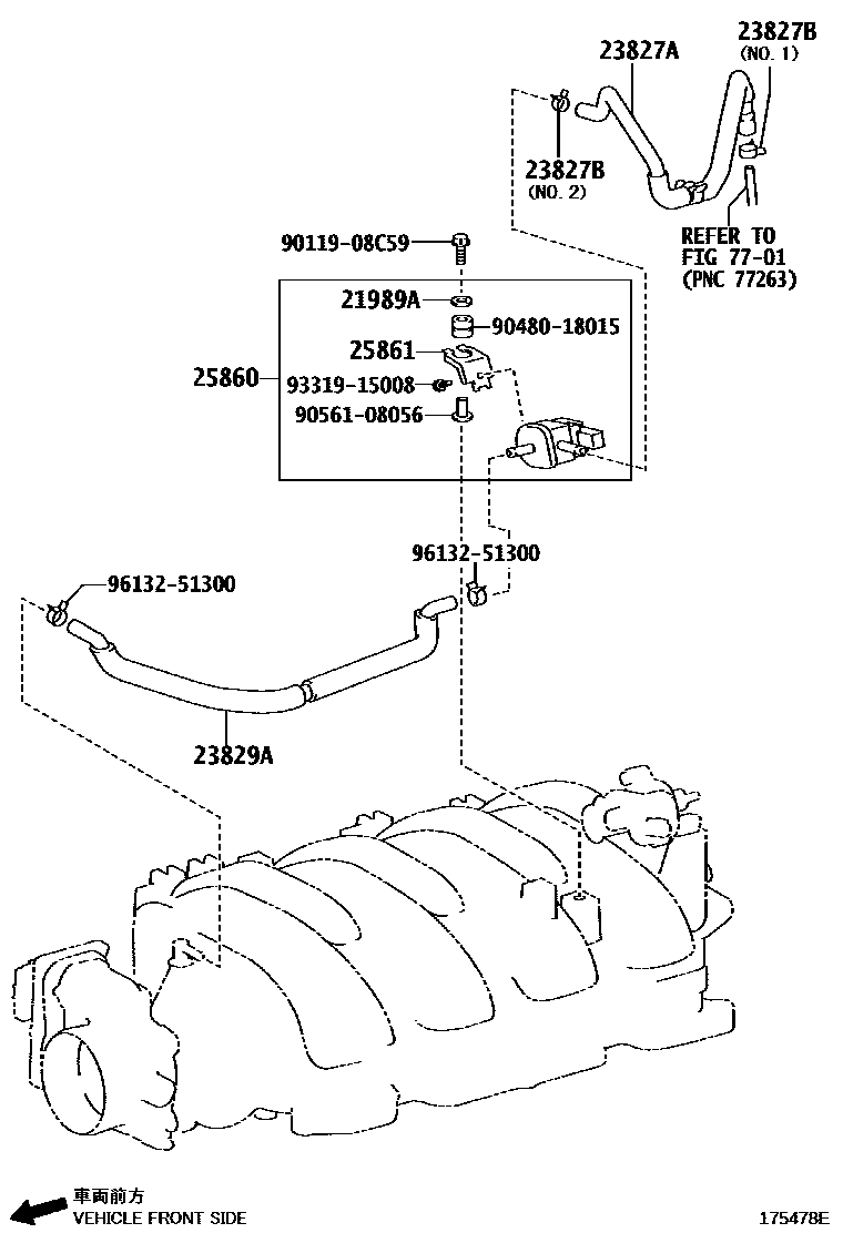
VACUUM PIPING

Parts diagram
21989AINSULATOR, PLATE
main21989-38010i¥370200704-200911
23827AHOSE, FUEL VAPOR FEED, NO.2
main23827-38020i200704-200911
main23827-38030i¥2,150200704-200911
23827BCLIP(FOR FUEL VAPOR FEED HOSE, NO.2)
main90467-15022i¥170200704-200911
NO.1
main96132-51300i¥120200704-200911
NO.2
23829AHOSE, FUEL VAPOR FEED
main23829-38030i¥3,090200704-200911
sub23829-38031¥2,570
25860VALVE ASSY, VACUUM SWITCHING, NO.1
main25860-38030i¥3,480200704-200911
25861BRACKET, VACUUM SWITCHING VALVE
main25861-38010i¥230200704-200911
7701
9011908C59
main90119-08C59¥80
9048018015
main90480-18015¥100
9056108056
main90561-08056¥90
9331915008
main93319-15008¥170
9613251300
main96132-51300¥120

12 parts on this diagram · 2 diagrams in section

VACUUM PIPING — Toyota Parts Diagram with OEM Numbers & Prices | EPC Data