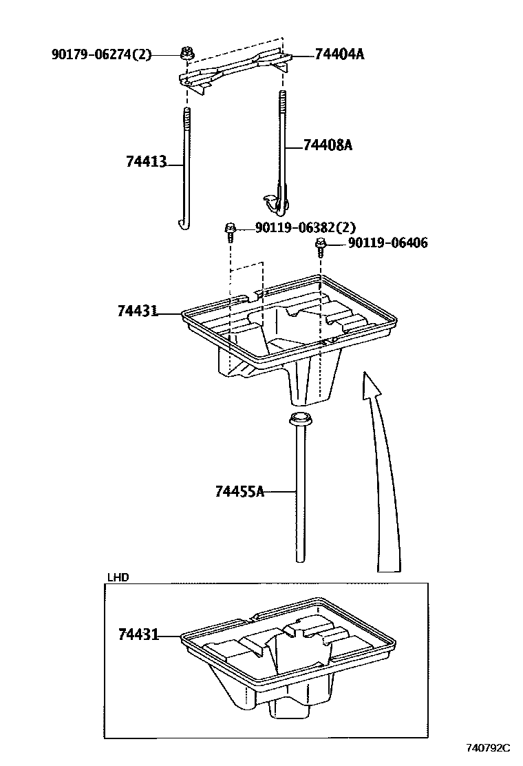
BATTERY CARRIER

74404ACLAMP SUB-ASSY, BATTERY
74408ABOLT SUB-ASSY, BATTERY CLAMP, NO.2
74413BOLT, BATTERY CLAMP
74455AHOSE, BATTERY DRAIN
9011906382
main90119-06382
9011906406
main90119-06406
9017906274
main90179-06274
8 parts on this diagram · 1 diagram in section