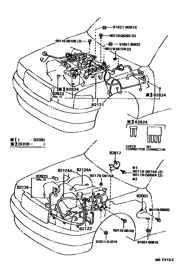
WIRING & CLAMP

82001CABLE, BOND, NO.1
82121WIRE, ENGINE
W(TRACTION CONTROL)
W(TRACTION CONTROL)
W(TRACTION CONTROL)
HONG KONG SPEC
HONG KONG SPEC
W(TRACTION CONTROL)
W(TRACTION CONTROL)
W(TRACTION CONTROL)
W(TRACTION CONTROL)
HONG KONG SPEC
W(TRACTION CONTROL)
HONG KONG SPEC & W(*TRC)
SOUTH AFRICA SPEC
82122WIRE, ENGINE, NO.2
82124WIRE, ENGINE, NO.4
82124AWIRE, ENGINE, NO.5
TO START INJECTOR
TO AIR BAG SENSOR
82823CAP, TERMINAL, NO.1
NO.2
NO.1
82824CONNECTOR, WIRING HARNESS
CHECK CONNECTOR
PASSENGER AIR BAG
EFI COMPUTER
W(MEMORY ADJUST SYSTEM & TEMS & *80)
CENTER PILLAR
CENTER PILLAR
REAR CROSSMEMBER
9011906106
main90119-06106
9011906393
main90119-06393
9011908063
main90119-08063
9011908684
main90119-08684
9011908749
main90119-08749
9017906158
main90179-06158
9017908158
main90179-08158
91611G1014
main91611-G1014
9162160816
main91621-60816
9165160816
main91651-60816
9165160822
main91651-60822
19 parts on this diagram · 10 diagrams in section