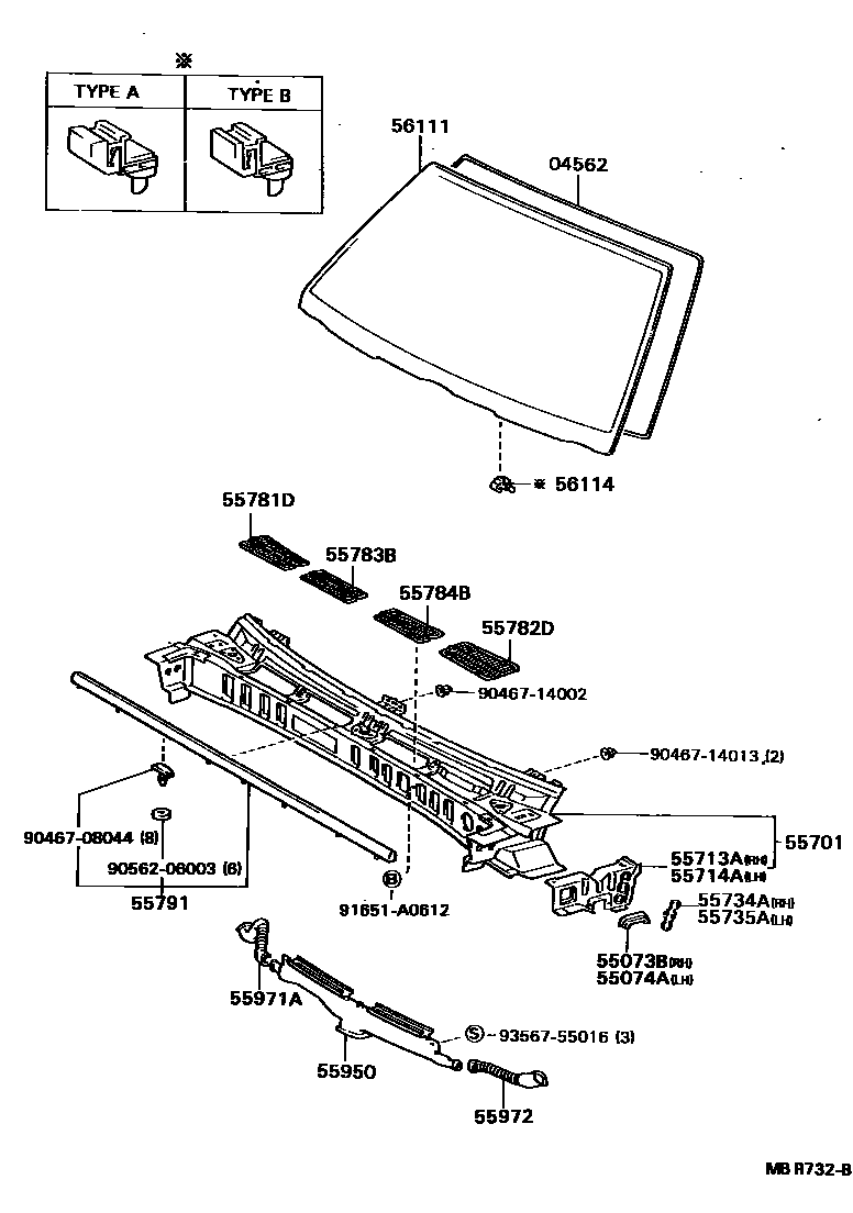
COWL PANEL & WINDSHIELD GLASS

04562DAM KIT, WINDSHIELD GLASS
55073BSEAL SUB-ASSY, COWL WATER EXTRACT, NO.1
55074ASEAL SUB-ASSY, COWL WATER EXTRACT, NO.2
55713APANEL, COWL TOP SIDE, RH
55714APANEL, COWL TOP SIDE, LH
55734APLATE, WATER GUARD, RH
55735APLATE, WATER GUARD, LH
55781DLOUVER, COWL TOP VENTILATOR, RH
55782DLOUVER, COWL TOP VENTILATOR, LH
55783BLOUVER, COWL TOP VENTILATOR, CENTER NO.1
55784BLOUVER, COWL TOP VENTILATOR, CENTER NO.2
55791WEATHERSTRIP, HOOD TO COWL TOP
55950NOZZLE ASSY, DEFROSTER
55971ADUCT, SIDE DEFROSTER NOZZLE, NO.1
55972DUCT, SIDE DEFROSTER NOZZLE, NO.2
56111GLASS, WINDSHIELD
56114RETAINER, WINDSHIELD GLASS
TYPE A
TYPE B
9046708044
main90467-08044
9046714002
main90467-14002
9046714013
main90467-14013
9056206003
main90562-06003
91651A0612
main91651-A0612
9356755016
main93567-55016
24 parts on this diagram · 1 diagram in section