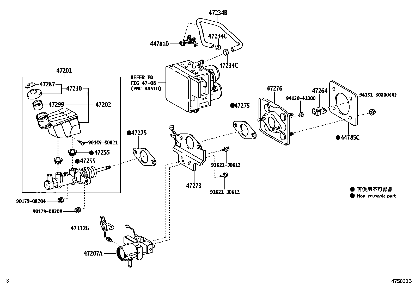
BRAKE MASTER CYLINDER

44781DBRACKET, RESERVOIR HOSE
44785CGASKET, BRAKE BOOSTER
4708
47201CYLINDER SUB-ASSY, BRAKE MASTER
47202RESERVOIR SUB-ASSY, BRAKE MASTER CYLINDER
47207ACYLINDER SUB-ASSY, BRAKE STROKE SIMULATOR
47230CAP ASSY, BRAKE MASTER CYLINDER RESERVOIR FILLER
47234BTUBE, RESERVOIR, NO.1
47234CCLIP(FOR RESERVOIR TUBE NO.1)
47255GROMMET, MASTER CYLINDER RESERVOIR
47264CLEVIS, MASTER CYLINDER PUSH ROD
47273BRACKET, BRAKE STROKE SIMULATOR
47275GASKET, BRAKE MASTER CYLINDER
47276BRACKET, BRAKE MASTER CYLINDER
47287LABEL, BRAKE FLUID INFORMATION
47299STRAINER, BRAKE MASTER CYLINDER RESERVOIR
9014940021
main90149-40021
9017908204
main90179-08204
91621J0612
main91621-J0612
9412041000
main94120-41000
9415180800
main94151-80800
22 parts on this diagram · 2 diagrams in section