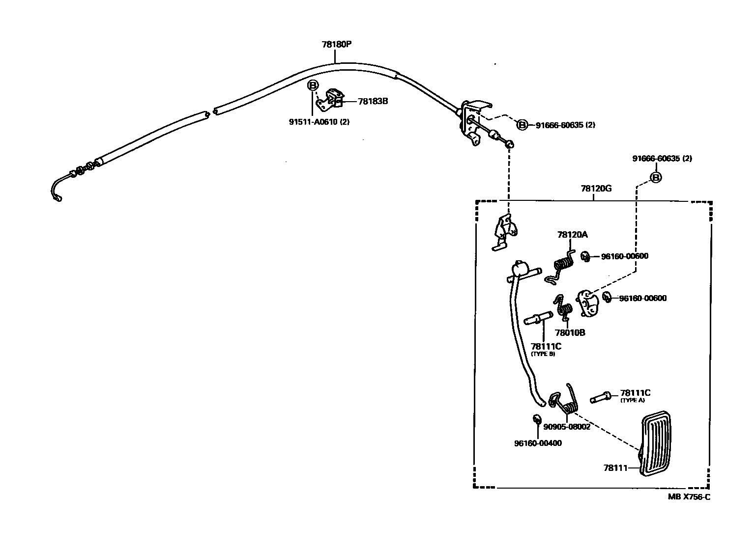
ACCELERATOR LINK

78010BSPRING, TORSION (FOR ACCELERATOR LINK)
78111PEDAL, ACCELERATOR
78111CPIN (FOR ACCELERATOR PEDAL)
TYPE A
TYPE A
TYPE B
78120ASPRING, COMPRESSION (FOR ACCELERATOR LINK ROD)
78120GROD ASSY, ACCELERATOR PEDAL
78180PCABLE ASSY, ACCELERATOR CONTROL
78183BCLAMP, ACCELERATOR CONTROL CABLE
9090508002
main90905-08002
91511A0610
main91511-A0610
9166660635
main91666-60635
9616000400
main96160-00400
9616000600
main96160-00600
12 parts on this diagram · 2 diagrams in section