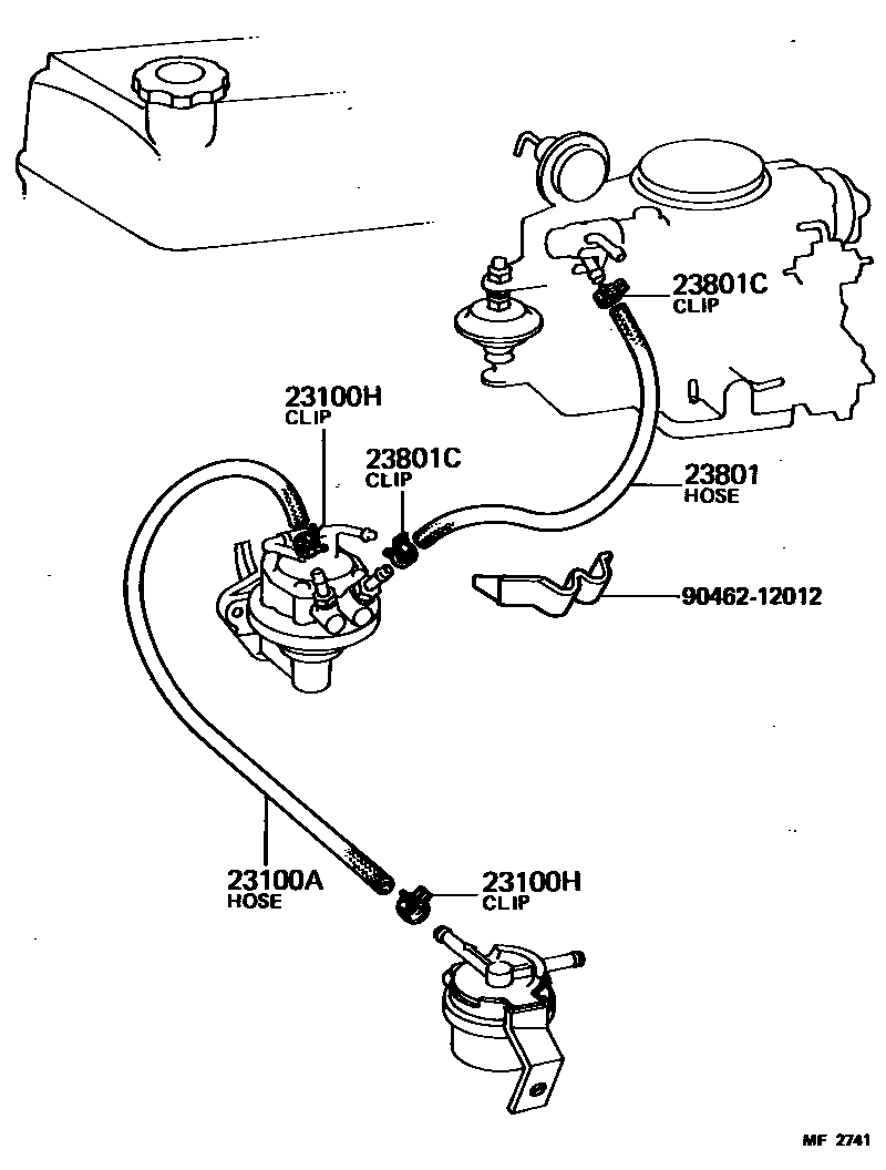
FUEL PIPE & CLAMP

23100AHOSE, FUEL
23100HCLIP(FOR FUEL HOSE)
sub96132-51300
23801PIPE OR HOSE SUB-ASSY, CARBURETOR FUEL, NO.1
23801CCLIP(FOR CARBURETOR FUEL HOSE)
sub96132-51300
9046212012
main90462-12012
5 parts on this diagram · 2 diagrams in section