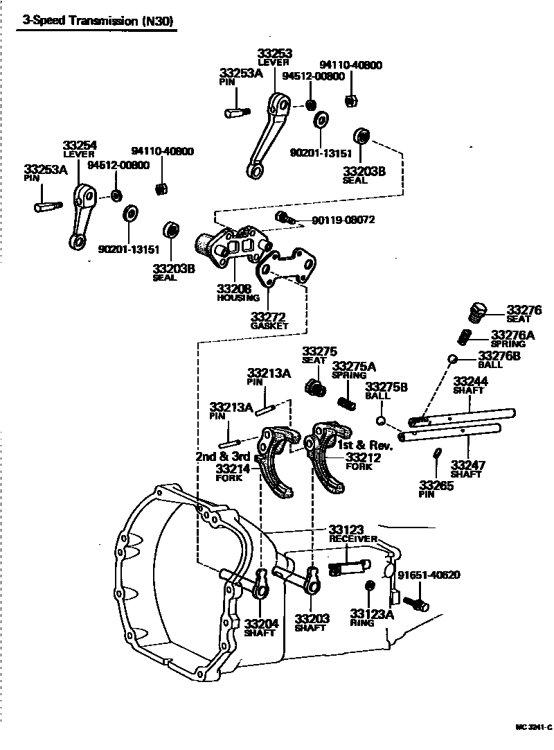
GEAR SHIFT FORK & LEVER SHAFT (MTM)

33123RECEIVER, TRANSMISSION OIL
33123ARING, O(FOR TRANSMISSION OIL RECEIVER)
sub96711-19006
33203SHAFT SUB-ASSY, SHIFT LEVER, NO.1
33203BSEAL, OIL(FOR SHIFT LEVER SHAFT)
33204SHAFT SUB-ASSY, SHIFT LEVER, NO.2
33208HOUSING SUB-ASSY, SHIFT LEVER SHAFT
33212FORK, 1ST & REVERSE SHIFT
33213FORK, 1ST & 2ND SHIFT
33213APIN, SLOTTED SPRING(FOR SHIFT FORK SET)
33214FORK, 2ND & 3RD SHIFT
33244SHAFT, 2ND & 3RD SHIFT FORK
33247SHAFT, 1ST & REVERSE SHIFT FORK
33253LEVER, SHIFT OUTER, NO.1
33254LEVER, SHIFT OUTER, NO.2
33265PIN, SHIFT INTERLOCK, NO.2
33272GASKET, SHIFT LEVER SHAFT HOUSING
33275SEAT, SHIFT DETENT BALL SPRING, NO.1
L=7.5,OD=15
33275ASPRING, COMPRESSION (FOR SHIFT DETENT BALL LOW SIDE)
L=16.5
33275BBALL, SHAFT DETENT
33276SEAT, SHIFT DETENT BALL SPRING, NO.2
33276ASPRING, COMPRESSION, NO.2 (FOR SHIFT DETENT BALL)
33276BBALL, SHIFT DETENT, NO.2
9011908072
main90119-08072
9020113151
main90201-13151
9165140620
main91651-40620
9411040800
main94110-40800
9451200800
main94512-00800
28 parts on this diagram · 3 diagrams in section