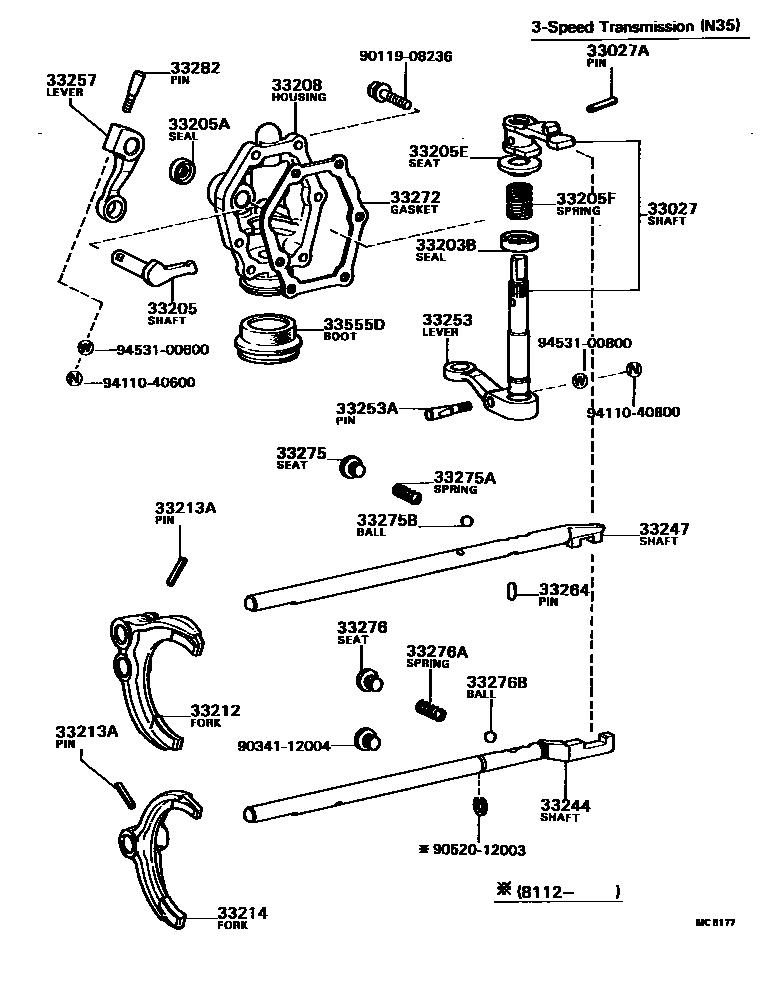
GEAR SHIFT FORK & LEVER SHAFT (MTM)

33027SHAFT SET, SHIFT LEVER
sub33027-30030
33027APIN, SLOTTED SPRING(FOR SHIFT LEVER SHAFT SET)
33203SHAFT SUB-ASSY, SHIFT LEVER, NO.1
33203BSEAL, OIL(FOR SHIFT LEVER SHAFT)
33205SHAFT SUB-ASSY, SELECT LEVER
33205ASEAL, OIL(FOR SHIFT LEVER NO.2 SHAFT)
33205ESEAT(FOR SELECT RETURN SPRING)
sub33276-28011
33205FSPRING, COMPRESSION(FOR SELECT RETURN)
33208HOUSING SUB-ASSY, SHIFT LEVER SHAFT
33213FORK, 1ST & 2ND SHIFT
sub33212-30050
33213APIN, SLOTTED SPRING(FOR SHIFT FORK SET)
33247SHAFT, 1ST & REVERSE SHIFT FORK
33253LEVER, SHIFT OUTER, NO.1
33257LEVER, SELECT OUTER
33264PIN, OR BALL, SHIFT INTERLOCK, NO.1
L=13.4,OD=6
33272GASKET, SHIFT LEVER SHAFT HOUSING
33275SEAT, SHIFT DETENT BALL SPRING, NO.1
OD=18
33275ASPRING, COMPRESSION (FOR SHIFT DETENT BALL LOW SIDE)
33275BBALL, SHAFT DETENT
33276BBALL, SHIFT DETENT, NO.2
33282PIN, LEVER LOCK, NO.2
33555DBOOT, SHIFT LEVER
9011908236
main90119-08236
9034112004
main90341-12004
9052012003
main90520-12003
9411040600
main94110-40600
9411040800
main94110-40800
9453100600
main94531-00600
9453100800
main94531-00800
35 parts on this diagram · 5 diagrams in section