E
EPC Data
Pricing
API Docs
Sign In
Home
›
EU
›
311240
›
VENTILATION HOSE
VENTILATION HOSE
0001 1
0002 1
0003 1
0004 1
0005 1
0006 1
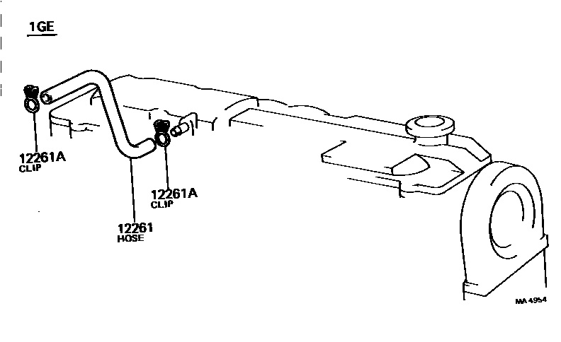
12261
HOSE, VENTILATION
main
12261-41080
i
5ME..MX62
198009-198308
main
12261-41090
i
5ME..MX6#
198308-198504
main
12261-54010
i
L..LX60
198009-198407
main
12261-70010
i
1GE..GX6#
198208-198504
12261A
CLIP OR CLAMP(FOR VENTILATION HOSE)
main
90467-14082
i
1GE..GX6#
198208-198504
sub
90467-14001
main
90467-15120
i
L..LX60
198009-198407
main
90467-20002
i
5ME..MX6#
198009-198504
2 parts on this diagram · 6 diagrams in section
VENTILATION HOSE — Toyota Parts Diagram with OEM Numbers & Prices | EPC Data