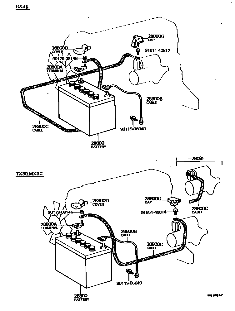
BATTERY & BATTERY CABLE

28800BATTERY
28800ATERMINAL, BATTERY POSITIVE
NS40ZAL
N40L,N50ZL
28800BCABLE, BATTERY TO GROUND
NS40ZAL
N40L,N50ZL
28800DCOVER, CONNECTOR(FOR BATTERY TERMINAL)
sub82821-30080
28800GCAP, TERMINAL(FOR STARTER)
9011906049
main90119-06049
9017908146
main90179-08146
9161140812
main91611-40812
9165140814
main91651-40814
10 parts on this diagram · 1 diagram in section