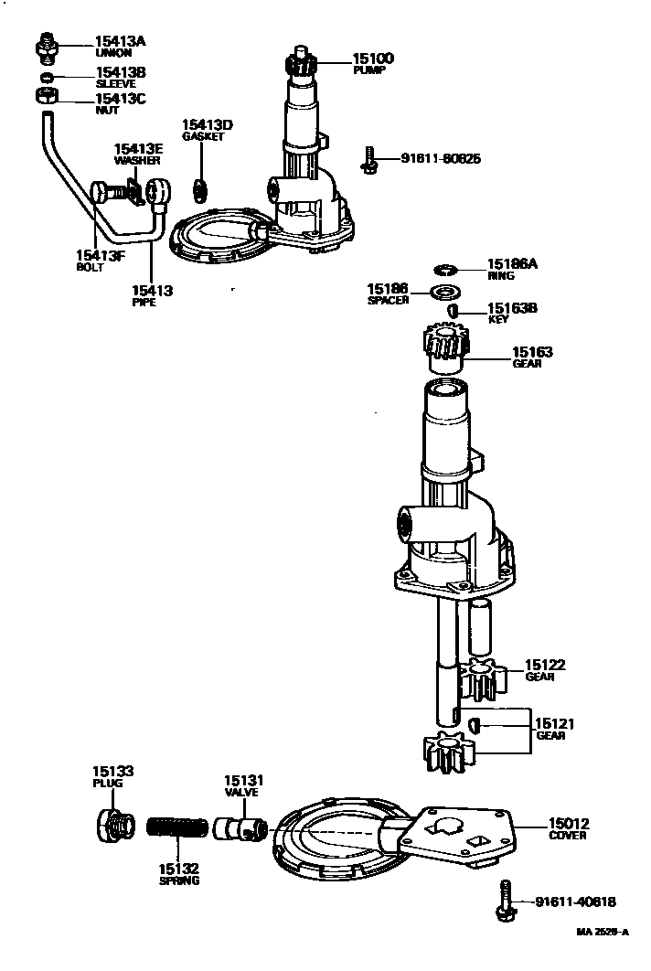
ENGINE OIL PUMP

15121GEAR, OIL PUMP DRIVE
sub15102-43050
15122GEAR, OIL PUMP DRIVEN
sub15122-43050
15131VALVE, OIL PUMP RELIEF
15132SPRING, OIL PUMP RELIEF VALVE
15163GEAR, OIL PUMP DRIVE SHAFT
15163BKEY, WOODRUFF(FOR OIL PUMP DRIVE SHAFT GEAR)
15186SPACER(FOR OIL PUMP DRIVE SHAFT GEAR)
15186ARING, SHAFT SNAP(FOR OIL PUMP DRIVE SHAFT GEAR)
15413PIPE, OIL PUMP OUTLET
15413AUNION(FOR OIL PUMP OUTLET PIPE)
15413BSLEEVE, BALL(FOR OIL PUMP OUTLET PIPE)
15413CNUT, UNION(FOR OIL PUMP OUTLET PIPE)
15413DGASKET(FOR OIL PUMP OUTLET PIPE)
15413EWASHER, LOCK(FOR OIL PUMP OUTLET PIPE)
15413FBOLT, UNION(FOR OIL PUMP OUTLET PIPE)
sub90401-18014
9161140618
main91611-40618
9161160825
main91611-60825
20 parts on this diagram · 3 diagrams in section