E
EPC Data
Pricing
API Docs
Sign In
Home
›
EU
›
291240
›
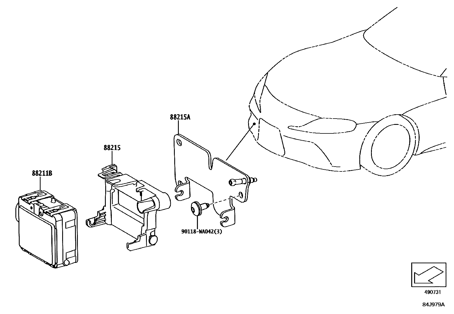
CRUISE CONTROL (AUTO DRIVE)
CRUISE CONTROL (AUTO DRIVE)
88211B
SENSOR ASSY, MILLIMETER WAVE RADAR
88215
BRACKET, MILLIMETER WAVE RADAR SENSOR, NO.1
main
88215-WAA01
main
88215-WAA02
88215A
BRACKET, MILLIMETER WAVE RADAR SENSOR, NO.2
90118WA042
main
90118-WA042
4 parts on this diagram · 1 diagram in section
CRUISE CONTROL (AUTO DRIVE) — Toyota Parts Diagram with OEM Numbers & Prices | EPC Data