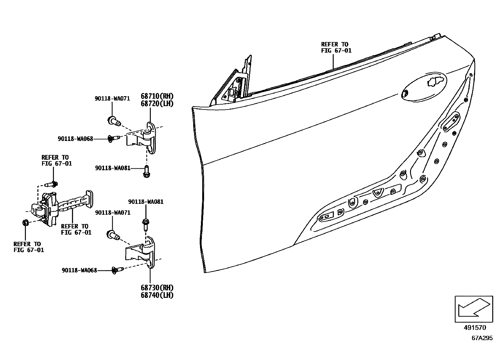
FRONT DOOR WINDOW REGULATOR & HINGE

6701
68710HINGE ASSY, FRONT DOOR, UPPER RH
68720HINGE ASSY, FRONT DOOR, UPPER LH
68730HINGE ASSY, FRONT DOOR, LOWER RH
68740HINGE ASSY, FRONT DOOR, LOWER LH
90118WA068
main90118-WA068
90118WA071
main90118-WA071
90118WA081
main90118-WA081
8 parts on this diagram · 2 diagrams in section