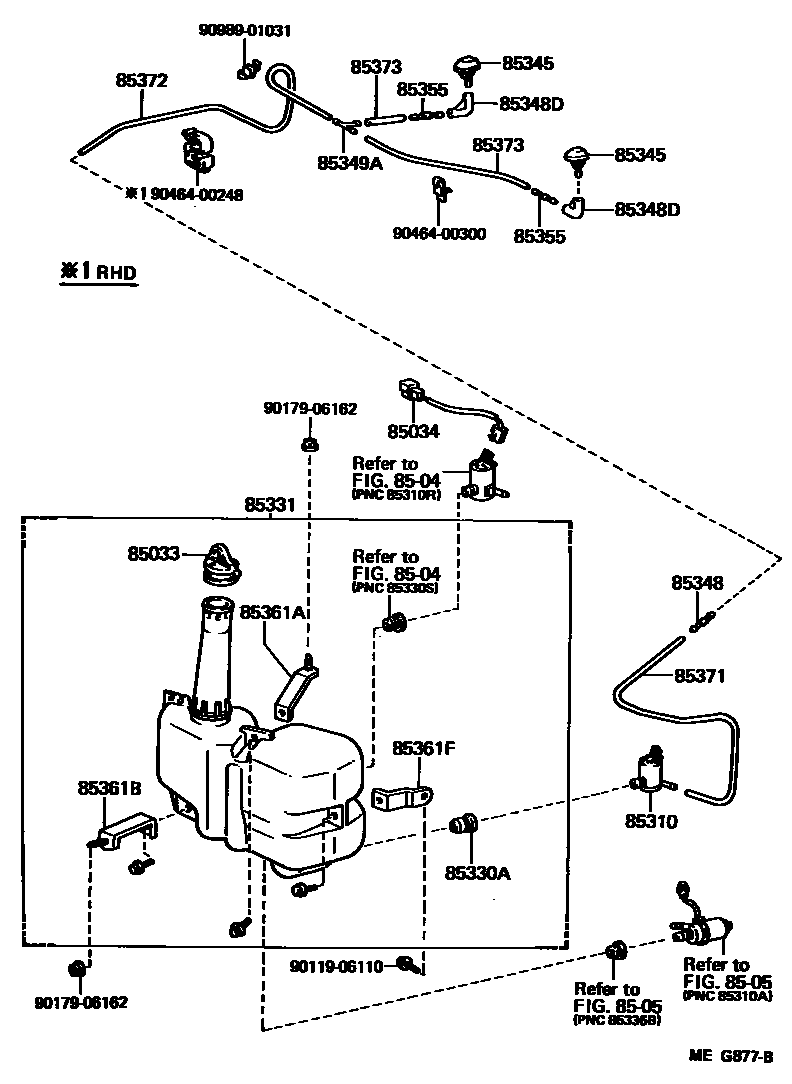
WINDSHIELD WASHER

85033CAP ASSY, WINDSHIELD WASHER
85034WIRE, WASHER
8504
8505
85330ABUSH, WINDSHIELD WASHER JAR
85331JAR SUB-ASSY, WINDSHIELD WASHER
W/RR WIPER,W/O *HC
W/RR WIPER & *HC
W/O RR WIPER,W/*HC
85345NOZZLE, WINDSHIELD WASHER
85348JOINT, WINDSHIELD WASHER HOSE, NO.1
85348DJOINT, WINDSHIELD WASHER ELBOW, NO.1
85349AJOINT, WINDSHIELD WASHER HOSE, NO.2
sub85348-14390
85355VALVE, WINDSHIELD WASHER HOSE
85361ABRACKET, WINDSHIELD WASHER, NO.1
*HC
85361BBRACKET, WINDSHIELD WASHER, NO.2
85361FBRACKET, WINDSHIELD WASHER, NO.3
85371HOSE, WINDSHIELD WASHER (FROM MOTOR TO JOINT)
L=1800
85372HOSE, WINDSHIELD WASHER (FROM JOINT TO JOINT), NO.1
L=1450
85373HOSE, WINDSHIELD WASHER (FROM JOINT TO NOZZLE)
L=1450
9011906110
main90119-06110
9017906162
main90179-06162
9046400248
main90464-00248
9046400300
main90464-00300
9098901031
main90989-01031
23 parts on this diagram · 1 diagram in section